The German lime industry is facing up to the challenges of the future: The German Lime Association (BVK) held its annual general assembly in Würzburg on June 7, 2024.
Introduction: ILA Health & Safety Award 2024In a significant endeavor to foster a safe and healthy working environment in the global lime industry, the International Lime Association (ILA) has joined...
The global leader of belt conveyor accessories has announced the next generation of secondary conveyor belt cleaners engineered to reduce dusty carryback and lower maintenance time. Designed to...
(22) 16.11.2023(43) 23.05.2024(57) One embodiment of the present invention provides a method for producing a cement additive, the method 71‘ comprising removing a fine powder component by sorting a...
(22) 09.11.2023(43) 23.05.2024(57) In a method for processing organic residue-containing dust in a cement production facility, the dust is introduced into the chlorine bypass (12) of the cement...
(22) 06.11.2023(43) 16.05.2024(57) The present invention provides a dispersant that can effectively lower the viscosity of a cement composition containing calcium carbonate. The present invention...
(22) 31.10.2023(43) 10.05.2024(57) A method of producing cement clinker from a source of calcium sulfate, comprising - a first step of calcining the source of calcium sulfate in the presence of a...
(22) 27.10.2023(43) 02.05.2024(57) A method for producing a hydraulic cement composition, the method comprising: a step (A) for mixing a blast furnace slag generated in a pig iron production step in a...
(22) 17.03.2022(43) 23.05.2024(57) A raw meal for a cement clinker, a cement clinker made from that raw meal and a process for producing a cement clinker are provided. The clinker contains mainly the...
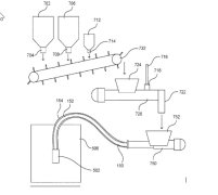
(22) 28.03.2022(43) 23.05.2024(57) An example apparatus for additive manufacturing can include a supply of dry cement powder (702) having an individually controllable outlet (704); a supply of a dry...
(22) 01.12.2023(43) 09.05.2024(57) Method for grinding a solid in a vertical roller mill (VRM) and a cement composition prepared by the disclosed methods. A method comprises grinding a solid...
(22) 25.11.2022(43) 29.05.2024(57) Method for calcining clay comprising the steps of providing a clay raw material with an iron content of at least 2 wt.-%, calculated as Fe203 on a loss on ignition...
(22) 14.10.2022(43) 22.05.2024(57) A method for manufacturing gypsum containing a high content of one or more of hemihydrate gypsum, dihydrate gypsum, and anhydrous gypsum using an oxidation reaction...
(22) 01.02.2024(43) 08.03.2024(57) The invention relates to a cement fineness screening device for engineering detection, and relates to the technical field of engineering detection, the cement...
(22) 19.01.2024(43) 23.02.2024(57) The invention discloses a closed belt conveying device for cement raw materials, and relates to the technical field of cement raw material conveying.Comprising a...
(22) 03.10.2023(43) 06.02.2024(57) The invention discloses a chromiumreducing admixture for sintering cement clinker in a rotary kiln and a method. The chromium-reducing admixture comprises the...
(22) 25.10.2023(43) 26.01.2024(57) The invention relates to a power plant coal slag resource utilization method, which belongs to the technical field of solid waste resource utilization, and comprises...
(22) 26.09.2023(43) 12.01.2024(57) The invention provides a method for preparing an alpha-type semi-hydrated gypsum seed crystal by using natural gypsum, which is characterized by comprising the...
(22) 24.09.2023(43) 21.11.2023(57) The invention relates to the technical field of cement flue gas treatment, in particular to flue gas denitration equipment for a dry cement production line, which...
(22) 09.05.2023(43) 13.10.2023(57) The invention belongs to the field of building materials, and relates to a coal-saving sulfur-fixing agent for production of a rotary cement kiln. The coal-saving...
(22) 10.01.2023(43) 05.05.2023(57) The invention discloses a system and process for drying chlorine-containing powder dechlorination filter residues through low-temperature waste gas in a kiln head,...
(22) 29.11.2022(43) 07.04.2023(57) The invention relates to the technical field of calcium carbonate preparation, in particular to a calcium carbonate suspension calcination preparation technology...
(22) 26.08.2022(43) 01.11.2022(57) The invention discloses a lime tumor crushing device for a lime kiln, and belongs to the technical field of lime tumor treatment, the lime tumor crushing device...
(22) 01.02.2022(43) 14.05.2024(57) The invention relates to a method for controlling a chemical clinker quality in a cement factory, said method comprises the steps of measuring a temperature in a...
(22) 15.03.2022(43) 09.05.2024(57) A control process for controlling a production process for calcined clays with a calciner including, capture of at least one temperature in the calciner, taking of...
From renovation to transformationDiscover new products and trends, meet exhibitors and experts in person, get advice, do business, learn more, network – this is what the NordBau construction trade...
Innovation and research for decreasing carbon emissions on a global scaleWith a sold-out edition in 2023 and a hugely successful attendance in 2022 and 2023, CarbonZero Global Conference and...
As the global push for sustainability intensifies, the cement industry stands at a critical juncture. This October, the key hub of Hamburg will host a landmark event in the sector‘s journey – ACI‘s...
The formation of gas products (NOx and SO2) in the combustion of RDF and 0.00 g, 0.02 g, 0.04 g, and 0.08 g Al2O3 at 900 °C was studied by using the experimental platform of a double-tube furnace set...
Iron and steel, building materials, PVC, paper - these are items we use every day, and usually without thinking about how many people and which resources have contributed to their production.
The cement industry in Latin America and other world regions is facing difficulties subsequent to the Corona crisis and due to inflation problems. Cement production has stagnated and for this year still no major improvements are projected.
Refuse Derived Fuel (RDF), produced from Municipal Solid Waste (MSW), is used as an alternative to fossil fuel in the cement industry as a way of reducing its carbon footprint.
The recycling service provider Alba and the building materials manufacturer Cemex are building a new plant for biochar from biogenic waste, Alce Biokohle GmbH, in Rüdersdorf to the east of Berlin. The...
During the production of lithium from spodumene, large quantities of leached spodumene concentrate (LSC) are produced as a by-product. The great industrial utilization potential of this LSC has now...
Holcim is scaling up the use of Artificial Intelligence (AI) in manufacturing across more than 100 plants worldwide over the next four years, improving efficiency and reinforcing capacity for...
In Germany, the construction sector is responsible for 36% of greenhouse gas emissions, 50% of raw material extraction and 35% of waste generation. The circular economy is an important lever for...
“CARMEN” project led by TU Darmstadt tests CO2 capture under real conditionsGermany wants to become climate-neutral by 2045. Experts believe that this will only be possible if large quantities of...
The first certificates for this year’s company and employee competitions for occupational safety have now been presented by BVK Managing Director Martin Ogilvie. The BVK congratulates all companies...
With the delivery and installation of six oxygen tanks in mid-June, another important milestone was reached in the catch4climate project of the research company CI4C, a joint venture of the four...
Beumer Group is continuing on its growth path and expanding its commitment in India. The global manufacturer of material handling solutions invests more than INR 2 billion in a new, state-of-the-art production city in Reliance MET City/Jhajjar.
“We are reinventing the standard.” Those were the words of CEO Andreas Evertz when Flender introduced the Flender One single stage version to the market last year. Now, this reinvention enters the...
On 19 June 2024, Linde and Heidelberg Materials hosted a groundbreaking ceremony for their large-scale carbon capture and liquefaction plant in Lengfurt/Germany.
Betonwerke Unterland GmbH & Co KG, a joint holding company of Fröschl and Rohrdorfer, supplies the districts of Kufstein and Kitzbühel with high-quality ready-mixed concrete from its three locations....
Dear readers, The challenges at present are manifold: inflation, a declining economy, trouble spots in various parts of the world ... and then there is the issue of climate crisis.