测试详情页广告位2
Content

Column

The core of the Cement Process

The process of clinker manufacture has evolved massively over the last decades. Back in 1843 when William Aspdin invented the technical process of clinker manufacture in a rotary kiln, the production was primarily driven by the burner. With all the developments coming in the subsequent years, especially the precalciner and the external combustion chambers, the main burner (as it has been called since then) only takes over about 45% of the thermal input.

more

Application

Patents

US 2025/0206661 A1

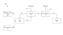
Method for producing cement clinker

(22) 09.03.2023(43) 26.06.2025(57) A method for producing a cement clinker, that includes using fuel containing gas fuel as fuel of a precalcination burner in a precalcination furnace that...

more
US 2025/0187980 A1

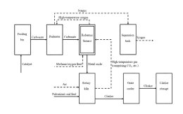
Concrete having a low cement content

(22) 08.12.2022(43) 12.06.2025(57) The present invention relates to a fresh concrete compositioncomprising at least: i) a hydraulic binder comprising: from 20% to 40% by weight of Portland cement...

more

Process

HAVER & BOECKER NIAGARA

Limestone pelletizing: A technical overview

In the international fertilizer industry, the terms “granulation” and “pelletizing” are used synonymously to describe the agglomeration of fine-grained materials. Accordingly, the resulting products are referred to as either “granules” or “pellets.” The choice of terminology in this publication follows the established and well-known SCARABAEUS pelletizing disc, and for consistency, the term “pelletizing” is used throughout the remainder of the article.

more
Cimprogetti

The use of alternative fuels in PFR kilns

In recent years, the adoption of alternative fuels has become a key factor in the sustainable evolution of the lime industry. In particular, the use of biomass is emerging as an effective solution to reduce environmental impact while ensuring a more flexible and resilient energy supply.

more

Interview

MPA Lime: Collective voice for Great Britain’s lime industry

Net negative emissions by 2040: Five key levers are required to pave the way to CO 2 negativity in Great Britain’s lime industry. In an interview with ZKG Cement Lime Gypsum, Mike Haynes and Jon Flitney further outline the details of the MPA Lime Net Negative 2040 roadmap.

more

Events

EUROSAC

EUROSAC Congress 2025: Envisioning the paper sacks of tomorrow

From 22–24 May, more than 130 industry professionals convened in Thessaloniki/Greece, for the EUROSAC Congress 2025. Under the theme “Envisioning the paper sacks of tomorrow”, the event featured expert presentations, dynamic discussions and valuable networking opportunities.

more

Products

Spotlight

FEDERAL ASSOCIATION OF THE GYPSUM INDUSTRY (GIPS)

A pleasant indoor climate with gypsum

A healthy home starts with the right building materials: Gypsum naturally creates a pleasant indoor climate by regulating humidity and ensuring comfort in living and working spaces.

more
Heidelberg Materials

First CCC certifications for cement in Germany

Heidelberg Materials is the first company in Germany to have three cements successfully certified according to the new CO₂ label of the German Cement Association (VDZ). The products from Heidelberg...

more
STARLINGER

K 2025: The power of Circular Packaging

Starlinger presents technical solutions for closed-loop systems in woven plastic packaging. “Plastic packaging is the packaging of the future,” stated Harald Neumüller, CSO of Starlinger.

more
ROHRDORFER

CO2-reduced cement production: pilot plant for tempered clays goes into operation

The new pilot plant for tempered clays at the Rohrdorf cement plant successfully went into operation at the beginning of July. In the plant, raw clay is activated (“tempered”) through thermal treatment. The aim of the plant is to research tempered clays, as these can be used as a lower-CO₂ alternative to clinker, the main component of cement.

more
Lindner Recyclingtech

Lindner founds subsidiary in Latin America

Lindner continues expanding its global market presence with the foundation of Lindner LATAM. Working with local partners, the company is driving innovative recycling solutions for waste processing and strengthening its customer service.

more
THYSSENKRUPP POLYSIUS

thyssenkrupp Polysius to supply innovative electric kiln based on SaltX’s decarbonization technology for the world’s first zero-emission lime plant

thyssenkrupp Polysius is set to provide the kiln system for SMA Mineral’s trailblazing quicklime plant in Norway – designed to operate entirely without CO2 emissions. Based on SaltX’ electric calcination technology, the project represents a global first in the decarbonization of lime production and marks a significant milestone in the transition to climate-neutral industrial processes.

more
SYMEO

Radar sensors are not affected by dust

The 29th Bulk Material Handling Technology Conference will take place in Magdeburg/Germany on September 17 and 18, 2025. Symeo GmbH, a manufacturer of industrial radar sensors, will be part of the accompanying exhibition at the Hotel Ratswaage.

more
German Paper Sack Industry Association (GemPSI)

German paper sack industry sets the course for new EU regulations

Packaging is at the heart of European sustainability strategies—and that includes paper bags. The members of the Paper Bag Industry Association (Gemeinschaft Papiersackindustrie e.V., GemPSI) are preparing intensively for the implementation of the new regulatory requirements.

more
HOLCIM

Study by the Wuppertal Institute and Butterfly Effect Consulting highlights potential: building materials can be produced and used in a more resource-efficient manner

Anyone who wants to make the construction sector in Germany sustainable must put climate and resource protection at the forefront. This is the key finding of the study “Sustainable Building Materials Transition”, which was conducted by the Wuppertal Institute in collaboration with Butterfly Effect Consulting on behalf of Holcim Germany

more
SCHWENK

First CO2 captured: CapsolGo® pilot plant launched in Brocēni

On May 27, CO₂ was captured for the first time at the Broc ē ni site in Latvia using the mobile CapsolGo pilot plant. The plant was installed in collaboration with the Norwegian company Capsol Technologies and is part of Schwenk’s strategic commitment to forward-looking, climate-friendly technologies.

more

Editorial

Looking beyond the horizon

Summer is vacation time. Some people are still enjoying their holidays, while others have already returned home. This is also a time when people like to “look beyond the horizon”, visiting unfamiliar and perhaps more distant countries. This is often the case in our professional environment as well.

more