Dear Readers, One of the biggest cement events will now also take place digitally at the end of May – the IEEE-IAS/PCA Cement Conference. The ZKG Cement Lime Gypsum team is registered, excited and ...
Sika has agreed to acquire Supermassa do Brasil Ltda, a mortar manufacturer which operates under the brand BR Massa in the Brazilian market. The acquisition will enhance Sika’s position in the region...
RHI Magnesita, a global market leader for refractory products and solutions, plans to invest € 23 million in the modernization of its Urmitz site in Germany over the next two years. This investment,...
The World Cement Association has further expanded its international network of members by welcoming Blue Planet as an Associate Corporate Member.Blue Planet is a Silicon Valley company which has...
HeidelbergCement’s US subsidiary Lehigh Hanson and Silicon Valley-based materials technology company Fortera have announced a collaboration to implement a new type of carbon capture and utilisation...
HeidelbergCement’s British subsidiary Hanson UK has become a partner in the HyNet North West consortium, which aims to create the world’s first low-carbon industrial cluster in the region of North...
Cemex has announced that it is investing US$ 25 million in a new system to replace fossil fuels at its Rugby cement plant in the United Kingdom, as part of its “Future in Action” program to achieve...
With ATO5, the program for shortened delivery times, SEW-Eurodrive can now deliver its X and P series industrial gear units even faster. In particularly urgent cases – when the plant is at a...
In a new contract signed earlier this year, Chinese construction giant CBMI Construction Co., Ltd., part of the Sinoma Group, ordered the supply and engineering of three complete control systems for...
Cement and concrete expert Rainer Nobis has written a richly illustrated, entertaining non-fiction book: “Illustrated History of Cement and Concrete – The Exciting Development of Two Outstanding ...
Deccan Cement Ltd, based in Hyderabad/India, has ordered another vertical mill from Gebr. Pfeiffer for its new kiln line at the Bhavanipuram plant in the state of Andhra Pradesh. The line will have a ...
In May 2016, Intercem’s third order – out of five – with the Cim Metal Group – Cimasso Cement Grinding Plant – 2.0 million t/a – in Bobo Dioulasso/ Burkina Faso started. The plant was commissioned by...
There are a large number of companies worldwide that manufacture refractory products and offer kiln linings, e.g. for the production of aluminum, iron and steel, glass, ceramics or cement. Standards ...
Since the turn of the year, the lime companies of the Wietersdorfer Group have been operating under the common umbrella brand InterCal. The core competence of the group of companies is the production...
With the aim of drastically reducing the high CO2 emissions in lime and cement production, the power-to-methane specialist Electrochaea is working together with the Belgian lime producer Carmeuse, the...
For 100 years now, the company co-founded by Dr Kurt Mauritz and based in Vettelschoss/Germany has been in the business of wear protection. Every day, Kalenborn’s customers move millions of tonnes of...
Martin Engineering has introduced an autonomous tensioning system that continuously monitors and delivers proper cleaner tension. By utilizing the intuitive new smart technology platform to maintain...
Technology company Continental has developed a service solution for monitoring conveyor belt systems to permit early identification of weak points along a belt conveyor system before damage resulting...
Essential for the construction industry and with current demand following the upward trend of modern development, it is imperative that cement producers enhance the reliabil-ity of their equipment....
Water exists naturally in three forms: above-ground water resources such as rivers, lakes and seas, underground water resources and water vapour in the atmosphere. Ceramic-structured construction...
This paper examines the effect of nano silica (NS) on the mechanical properties and hydration characteristics of materials based on sulfoaluminate cement (SAC). The compressive strength and flexural...
The Beumer autopac of the 2400 and 3000 construction series is a system which enables users to automatically load bagged bulk materials like cement on trucks and simultaneously palletise them –...
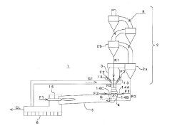
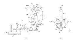
(22) 13.12.2018(43) 17.12.2020(57) Disclosed is a clinker production plant including: a preheating unit; a calcination unit; a kiln; and a cooler. The calcination assembly includes a calcination...
(22) 10.01.2019(43) 24.12.2020(57) This invention provides a continuous liquid phase type wet exhaust gas treatment method for removing sulfur oxides from exhaust gas and collecting it as gypsum,...
(22) 11.09.2020(43) 31.12.2020(57) A composition of a cement additive material to improve durability of cementitious structures, was disclosed. The cement additive composition includes an admixture of...
(22) 18.06.2020(43) 24.12.2020(57) The present invention relates to a nanoclinker powder having a belite (C2S) crystalline phase as determined by powder X-ray diffraction, said nanoclinker powder...
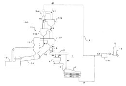
(22) 14.08.2019(43) 17.02.2021(57) A conduit for a calciner 10 of a cement clinker plant, having an enclosed reaction space 20 being enclosed by a side wall defining an inlet 12 in and an outlet 13 of...
(22) 31.07.2019(43) 04.02.2021(57) A method of recycling latex paint residual material, such as unused latex paint, includes the step of mixing with cement precursor material, thermally treating the...
(22) 05.08.2020(43) 11.02.2021(57) A bulk storage plant for providing cement mixtures oil well construction is disclosed. The bulk storage plant includes bulk storage sources, an additive station, a...
(22) 16.08.2019(43) 18.02.2021(57) The present disclosure provides a method for preparing an alkali and co-producing gypsum, and belongs to the technical field of chemical production. The method...
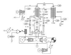
(22) 09.03.2018(43) 04.03.2021(57) A method and a plant for capturing CO2 from an incoming flue gas. The flue gas can be exhaust gas from coal and gas fired power plants, cement factories or...
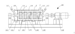
(22) 01.04.2020(43) 04.02.2021(57) A cement clinker grinding implementation equipment, a stirring device thereof, and a cement grinding system, the cement clinker grinding implementation equipment...
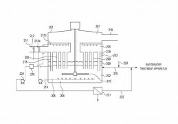
(22) 01.08.2019(43) 04.02.2021(57) [Problem] To reduce the NOx concentration in cement kiln exhaust gas. [Solution] A cement firing device 1 is equipped with a plurality of denitrification burners 14...
(22) 01.08.2019(43) 04.02.2021(57) [Problem] To provide a method and an apparatus for producing a desulfurizing agent, and a method for removing sulfur dioxide from cement kiln exhaust gas, enabling...
(22) 07.08.2019(43) 11.02.2021(57) [Problem] To efficiently combust combustible waste to thereby effectively utilize the same while maintaining a stable operation of a cement baking apparatus, and to...
(22) 12.08.2019(43) 18.02.2021(57) Disclosed are a cement pre-calciner kiln system and a method for preparing a cement clinker. A CO2 self-enrichment-type pre-calciner kiln, an offline-type...
(22) 05.08.2020(43) 18.02.2021(57) The invention relates to a cooler for cooling bulk material, in particular cement clinker, said cooler comprising the following components: – a supporting frame,...
Cement production is a complex process from blending various natural and synthetic materials through a high temperature process to clinker and cement. The cement industry took off into a digitized...
PPE specialist Mewa has developed its “Exclusive Cement” protective clothing, especially for cement production. This system, consisting of a waisted jacket, elasticated trousers, and a hooded helmet ...
If you like quiz shows you will love the moment when they ask the trembling candidate the million-dollar question! So much is at stake – and its all in these few seconds … Now – while we‘re cheering ...
Under the motto “We make air work for you” everything at Ventilatorenfabrik Oelde GmbH revolves around innovative air technology – research and development, planning and consulting, manufacturing and...
The Corona pandemic has added to the new challenges faced by the cement industry. ZKG Cement Lime Gypsum spoke to Peter Herrmann, Head of the Fan Division, and Reinhold Mertens, Branch Manager Cement,...
In the course of the national climate protection plan, a nearly CO2-neutral industry is planned by the year 2050. This means a reduction of CO2 emissions by 30% per decade from today (source: National...
CO2 avoidance and climate protection are the issues and the central challenges of the 21st century. When it comes to this question, everyone is affected and called upon to act – as individuals, as ...