Cement clinker grinding implementation equipment, stirring device thereof and cement grinding system
(22) 01.04.2020
(43) 04.02.2021
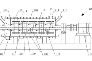
(57) A cement clinker grinding implementation equipment, a stirring device thereof, and a cement grinding system, the cement clinker grinding implementation equipment (100) comprises a housing (110), a screening device (160) and a stirring device; the stirring device comprises a stirring shaft (120) capable of being driven to rotate by a driving system (150), and at least one stirring unit (130) provided in the axial direction of the stirring shaft (120), both sides of the stirring unit (130) in the axial direction of the stirring shaft. (120) form a sub-grinding area S; at least one reinforcing stirring member (140) is connected to the stirring unit (130), and the reinforcing stirring member (140) extends within the sub-grinding area S; and the reinforcing stirring member (140) cooperates with the (…).
(71) Chengdu Leejun Industrial Co., Ltd, Sichuan (CN); Chengdu Leejun Technologies Co., Ltd, Sichuan (CN)
