Prior to informing you in this issue about the latest industrial research findings, we would like to present you with an overview article on digitization (p. 26 pp). As Prof. Dr.-Ing. Prof. h. c. Wilhelm Bauer sees it ...
FLSmidth has been awarded two contracts: one for a greenfield cement plant valued at more than € 100 million; the other for a brownfield cement plant also valued at more than € 100 million. Both...
LafargeHolcim has acquired Metro Mix, LLC, a leading provider of ready-mix concrete in the Denver metropolitan area in Colorado. With Metro Mix, LafargeHolcim further strengthens its position in the...
After more than 30 years of responsible activities in the Refratechnik Group, of which more than 20 years were in company management, Dr. Bernd Scheubel went into well-earned retirement.Following his...
The National Council for Cement and Building Materials (NCCBM) announced the appointment of Mahendra Singhi, Group CEO of Dalmia Cement (Bharat) Ltd., as its new Chairman. Mahendra Singhi has been a...
After two successful conferences at EPFL Switzerland in 2015 and CIDEM Cuba in 2017, The Indian Institute of Technology, Delhi will be organising the 3rd International Conference on Calcined Clays for...
Lafarge Africa Plc, group member of LafargeHolcim, is erecting a new coal grinding plant in its Nigerian factory, Ewekoro, and has once again chosen a Loesche mill.Until now, this cement plant in...
In 2018, Votorantim will complete 100 years. In Brazil, Votorantim has significantly contributed to the growth of cities and the development of the country. Votorantim’s trajectory is rooted in the...
Pakistani Kohat Cement Company Ltd. has recently ordered as many as four vertical roller mills (VRM) from Loesche in order to expand their cement plant in Kohat, 160 km west of the capital city of ...
Sika is developing its operations in the United Arab Emirates (UAE) with the opening of a new factory in Dubai. An existing production facility for concrete admixtures has been relocated to the new ...
Cemex Ventures commemorates #CXV-Pitchday, the closing of its 2018 Construction Startup Competition, in which seven finalists presented their projects. The startups that made it to the end offered ...
Approx. 28.8 million t of cement were used in Germany in 2017, roughly 4.8 % more than in the previous year. The VDZ expects much less growth in 2018.VDZ President Christian Knell explains the rise in ...
The Second Annual International Conference on Eco-Sustainable Construction Materials (ICESCM-2) will take place in Istanbul/Turkey on 24.11.-25.11.2018.The main topics of the conference will ...
With the VEZ 3200 (Vecoplan refuse-derived fuel shredder), the environmental technology company has developed a powerful single-shaft pre-shredder with high throughput capacity. It is ideally suited ...
For the Beumer Group, Customer Support is much more than just a service. Approximately 1000 employees worldwide now work for this business segment. They take care of the customer, starting with the ...
This year’s annual Eurosac Congress “Paper sacks – the natural commitment” was held in Malta from 24.05.-25.05.2018. It provided a forum to discuss the circular economy approach of the European paper...
An innovative cement manufacturer in the Midwestern U.S. has implemented a unique power solution at a remote conveyor location that lacked convenient electrical access. The patent-pending design uses...
For people operating industrial production facilities in the bulk solids industry, steadily escalating product-characteristic requirements and rising quality standards make it challenging to handle...
The aim of the original research was to examine and discuss the effects of mineralogical substitution raw material mixing ratios on some mechanical properties of concrete. In this study, fine-particle...
A 5 vol.% addition of fumed silica is seen to reduce the thermal conductivity of a CS IV plinth render by nearly 29 %, from λ10, dry = 0.45 to 0.32 W/(m·K). At the same time, the compressive strength...
Thermal power plants have a significant role in energy production. Within the combustion process, a by-product called fly ash is obtained and can be utilized by the cement industry as an additive for...
(22) 06.07.2017(43) 18.07.2018(57) The present invention relates to an eco-friendly, low-activity CSA-based cement which can replace ordinary Portland cement using limestone and industrial by-...
(22) 24.11.2017(43) 25.06.2018(57) The present invention relates to a sight window, and more particularly, it is possible to easily confirm the inside of a silo by light transmitted through the other...
(22) 12.08.2016(43) 20.06.2018(57) Summary of the corresponding patent EP3130562 (A1): Process for manufacturing highly porous slaked lime comprising a feeding step of quicklime, a feeding step of...
(22) 23.09.2016(43) 01.08.2018(57) Summary of the corresponding patent WO2017051377 (A1): A cement grinding media sorter and its operating method, wherein the grinding media are alloy steel balls. The...
(22) 09.12.2016(43) 27.06.2018(57) Releasing impurities from a calcium-based mineral to produce pure double salt crystals for producing high quality gypsum and chalk – A method for releasing...
(22) 28.12.2016(43) 02.07.2018(57) The subject of the application is a method of purification of flue gases from clinker burning furnaces from nitrogen oxides, sulfur and mercury oxides, characterized...
(22) 28.07.2014(43) 31.07.2018(57) Summary of the corresponding patent EP2980036 (A1): Method of grinding cement clinkers comprising at least two kinds of clinker phases with differing grindability,...
(22) 18.03.2014(43) 31.07.2018(57) Summary of the corresponding patent EP3219688 (A1): A method for manufacturing clinker comprising sintering raw meal in a kiln to clinker, preheating the raw meal in...
(22) 16.12.2015(45) 19.06.2018(57) A clinker for use in cement manufacturing includes a cement clinker mixture having crystals of an element that is less electronegative than carbon and carbon bonded...
(22) 20.12.2017(43) 21.06.2018(57) The present invention relates to a novel cementitious product produced from steelworks slag additivation to obtain material having properties suitable for use in the...
(22) 05.03.2018(43) 12.07.2018(57) A process and device separate off a volatile component from the off-gases in cement clinker production. Raw materials for cement clinker production are passed...
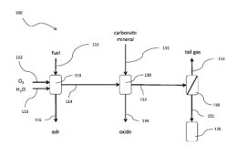
(22) 19.01.2018(43) 26.07.2018(57) The invention relates to a plant for generating negative emissions of CO2. The plant 100 comprises a gasifier 110, a lime kiln 130, a separator 150, and a CO2...
Digitalization is radically impacting our economy and society. Everything is becoming more dynamic, more volatile and changing at a tremendous pace. The ongoing developments especially in artificial...