测试详情页广告位2
Content

Application

Management

Patents

US 2017/0028345 A1

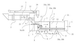
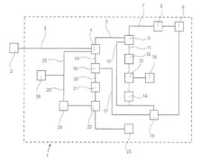
Slurry control system

(22) 01.08.2016 (43) 02.02.2017 (57) A system for regulating an amount of fresh lime slurry introduced to a spray dry absorber. The control system...

more
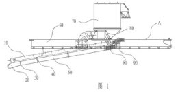
EP 3 128 275 A1

Cement clinker cooler grate

(22) 07.08.2015 (43) 08.02.2017 (57) A cement clinker cooler grate 1 for cooling and conveying cement clinker in a forward direction 2 comprising a...

more
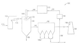
AU 2015295865 (A1)

Method for grinding cement clinker

(22) 16.07.2015 (43) 02.02.2017 (57) Method of grinding cement clinkers comprising at least two kinds of clinker phases with differing grindability,...

more

Process

Markets and Trends

ONESTONE CONSULTING S.L.

Improving cement plant performance with O&M contracts

Decreasing capacity utilization rates and financial constraints are reasons for the ongoing performance improvements of cement plants. However, when technical solutions are getting more complex and when operational know-how is ...

more

Plant report

BEUMER GROUP GMBH & CO KG | AALBORG PORTLAND A/S

An economically convincing alternative

The manufacture of cement is particularly energy intensive. For an economical and sustainable operation, Aalborg Portland A/S therefore relies on alternative fuels and raw materials, in its Denmark lead plant, to ignite the calciner ...

more

Events

Products

Spotlight

04.05.–10.05.2017, DÜSSELDORF/GERMANY

Enormous interest in interpack 2017

interpack 2017 is recording the highest demand among exhibitors in its history of over 55 years. By the official closing date of this outstanding international event for the packaging industry and related processing industries, exhibitors ...

more
06.06.–08.06.2017, PARIS/FRANCE

The Future of Cement 2017

Under the patronage of the French ­National Commission for Unesco, sponsored by the Académie des scie­nces, the Académie des technologies and the fib (International Federation for Structural Concrete), the French cement industry and its main technical association ATILH, are holding an international scientific symposium, “The Future of Cement”, in Paris/France from 06.06.-08.06.2017. ...

more
A TEC PRODUCTION & SERVICE GMBH

Two new A TEC calciners for Aalborg Portland Cement

Aalborg Portland Cementir Holding has awarded A TEC the contract for upgrading Cement Kiln 87 in Aalborg/Denmark. It is a 4500 t/d semi-dry kiln system which was commissioned in 1988. Two new calciners were designed ...

more
CLAUDIUS PETERS PROJECTS GMBH

New clinker cooler modification order

Korean Ssangyong Cement has awarded a contract to Claudius Peters Projects for the supply of a grate cooler modification. In challenging site conditions the existing cooler at the plant Donghae will be upgraded by a fifth generation clinker cooler system ...

more
LOESCHE GMBH

First Loesche vertical roller mills for the emerging cement market of Myanmar

The South Korean company Yojin Construction & Engineering Co., Ltd. has placed an order for two cement mills (cement/slag) with Loesche. The two highly modern and reliable vertical roller mills are to be used in the new clinker grinding plant of Yojin Myanmar Engineering Co., Ltd. in Thilawa/Myanmar, where they are to produce respectively 75 t/h clinker cement (OPC) with a fineness of 3300 Blaine. ...

more
HOFFMEIER INDUSTRIEANLAGEN GMBH + CO KG

Hoffmeier delivers ball mill

Hoffmeier Industrieanlagen has consequently invested in heavy machinery for the manufacturing of tube mills and rotary kilns. The first shell...

more

Editorial

Preventive maintenance ...

... is becoming increasingly important and will also be a key topic at the Hannover Messe. From 24.04.-28.04.2017, around 6500 exhibitors will be presenting typical applications, for example, for Industry 4.0, adaptive robots and technical solutions for the energy transition. One of the dominant focuses there is, naturally, Industry 4.0. ...

more