Slurry control system
(22) 01.08.2016
(43) 02.02.2017
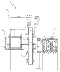
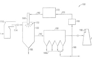
(57) A system for regulating an amount of fresh lime slurry introduced to a spray dry absorber. The control system includes a controller configured to receive input from a continuous emissions monitoring system (CEMS), a valve in communication with the controller and a spray dry absorber suction pump, the valve adapted to regulate an amount of fresh lime slurry provided to the spray dry absorber suction pump and a valve in communication with the controller and a pre-mix tank, the valve adapted to regulate an amount of fresh lime slurry provided to the pre-mix tank.
(71) Alstom Technology Ltd, Baden (CH)
