Method for grinding cement clinker
(22) 16.07.2015
(43) 02.02.2017
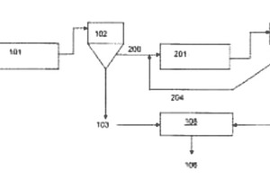
(57) Method of grinding cement clinkers comprising at least two kinds of clinker phases with differing grindability, comprising the steps: – feeding the cement clinker (100) to a first milling stage – grinding the cement clinker (100) in the first milling stage with a setting of grinding power and grinding time that allows grinding an easier to grind phase to a predetermined maximum particle size while a harder to grind phase maintains a particle size larger than the predetermined maximum particle size – transferring the output from the first mill (101) to a first separator (102) dividing the output into a first fraction (103) with the predetermined maximum particle size and a second fraction (200) with a larger particle size – transferring the second fraction (200) with a larger particle size to a second milling stage and – grinding the second fraction (200) with a larger particle size in the second milling stage to a final maximum particle size smaller than the predetermined maximum particle size.
(71) HeidelbergCement AG
