Good news is scarce at the moment, at best the recent vacation season puts us in a mild mood. The Corona figures are rising, there is no quick end in sight to the war in Ukraine, and raw materials are ...
Bursa Çimento Fabrikasi A.S. is upgrading its entire cement plant in Bursa to the latest technical standards in order to reduce CO₂ emissions and energy consumption to a minimum. The Turkish company...
Turkish plant construction machinery manufacturer Bilim Makina A.S. has ordered various machines and Silo Discharge Gates from Aumund Fördertechnik for a new kiln line at Baherden Cement in...
On June 1st 2022, there was a change of leadership in the family-run company Beumer Group, Germany. Rudolf Hausladen is the new CEO and succeeds Dr. Christoph Beumer, who has led Beumer Group as CEO...
The German Lime Association supports the initiative of OGE (formerly Open Grid Europe GmbH), one of Europe’s leading transmission system operators, for the planned construction of a CO2 transport...
The future of the construction and recycling industry depends on digital networking, data transparency and end-to-end processes. To strengthen these areas of expertise, Holcim is now participating in...
HeidelbergCement’s newly launched ANRAV CCUS project has been selected for Grant Agreement Preparation by the EU Innovation Fund, meaning that the project’s implementation will be supported. ANRAV...
Specialty cement manufacturer Calucem will enhance the presence in the U.S. market by developing a manufacturing facility in New Orleans with an investment amounting to US$ 35 million. Calucem, a ...
Cemex has announced that it has signed a power purchase agreement with Acciona Energía for the supply of clean electricity for Cemex’s cement operations in Spain. The agreement strengthens Cemex’s...
Being clearly committed to taking responsibility for a sustainable future, RHI Magnesita is proud, as the number one company within its industry, to make the CO2 footprints of its around 200000...
The research company “CI4C” – Cement Innovation for Climate, founded by the four cement manufacturers Buzzi Unicem SpA – Dyckerhoff GmbH, HeidelbergCement AG, Schwenk Zement GmbH & Co. KG and Vicat...
On June 1st 2022, Rohrdorfer has appointed Tobias Schwab, 45, as commercial director and member of the management board of the group of companies. In this role, he has been responsible for the...
The construction industry within the 19 Euroconstruct countries recovered in 2021 after an unexpected decline in construction output in 2020 caused by negative socio-economic developments (national...
Compact, cost-effective and quickly available – plus high-performance from capacity to weight accuracy: with the Smart Plant, Haver & Boecker serves the highly attractive development of the cement...
The premature decommissioning of power plants in Europe and elsewhere along with the corresponding sharp decrease in the quantities of flue gas desulphurization (FGD) gypsum are stoking fears that in...
The paper reviews several denitration technologies, such as adsorption, reduction, photocatalytic, oxidation-absorption and biological denitration, etc. In order to improve denitration efficiency, it...
Reactivity of clinker and cement is the unknown in today’s binder production. All analytical data collected in process control is not directly related to product performance. A new approach quantifies...
A study was made of the effect of triisopropanolamine (TIPA) on the compressive strength and hydration microstructure of cement/fly-ash systems during steam curing. The results show that the...
The mix of numerous innovations and expert-to-expert dialogue makes Powtech the networking and knowledge platform for process technicians and engineers. Decision-makers and buyers will find competent...
The World Cement Association has announced its 5th annual conference and exhibition will take place from 25th – 28th September 2022, in person at the Emirates Towers, Dubai/UAE. The conference will...
This year’s ILA General Assembly and Symposium will be held in Paris/France on 12.10.-14.10.2022. The event will bring together the global lime business. The purpose of ILA is the exchange of ...
“Carryback” is defined as the material that fails to unload from a conveyor belt, adhering to the belt and typically falling off at some point other than the intended discharge, and it is one of the...
(22) 23.11.2020(43) 27.05.2022 (57) A dry desulphurization apparatus for a lime rotary kiln. The dry desulphurization apparatus comprises a kettle body (1), wherein a flue gas inlet (2), a...
(22) 01.02.2019(43) 28.04.2022(57) Disclosed are exemplary method and system for manufacturing cement in a vertical roller mill (VRM) using humidity sensor readings. This enables adjustment of...
(22) 01.02.2022(43) 19.05.2022(57) The invention comprises a cementitious material comprising a natural pozzolan selected from hyaloclastite, sideromelane or tachylite, wherein the natural pozzolan...
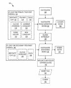
(22) 31.01.2022(43) 19.05.2022(57) A wastewater treatment system, including a wastewater phase-separation device, may be used to combine at least one primary treatment chemical and wastewater to...
(22) 23.11.2021(43) 26.05.2022(57) A method for manufacturing cement may include: supplying at least one etching effluent of a substrate based on silicon including a silicate of an alkali metal, M,...
(22) 13.03.2020(43) 02.06.2022(57) Portland cement clinker that includes C3A and C4AF in total from 22 to 40 mass % calculated by Bogue’s formulas and has an iron modulus (I.M.) of 0.8 to 1.3 is...
(22) 16.08.2021(43) 05.05.2022(57) Disclosed in the present utility model is a drying device for cement processing. The drying device comprises a support seat; a drying main body is fixedly mounted on...
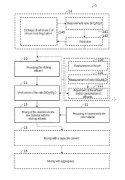
(22) 25.10.2021(43) 05.05.2022(57) A method and system for predicting enrichment type in terms of volatile components in a cement plant resulting from a variation in the amount of volatile components...
(22) 29.07.2021 (43) 12.05.2022 (57) The present invention discloses a Portland cement clinker and a preparation method therefor. M1 type alite accounts for 99% or more of the mass of all...
(22) 11.08.2021(43) 12.05.2022 (57) Disclosed in the present invention is a method for regulating an alite crystal structure in cement clinker. In the preparation process of a silicate cement...
(22) 12.11.2020(43) 19.05.2022 (57) A cement kiln system and method, the system comprising a smoke chamber (1), a rotary kiln (2), a cooling machine (3), a first raw material pre-heating...
(22) 03.11.2021(43) 27.05.2022 (57) Method for manufacturing a composite cement comprising a cement and calcined clay, comprising the steps of providing the cement, providing calcined clay by...
(22) 05.01.2022(43) 28.04.2022(57) The present invention provides a method and system for manufacturing cement wherein ground particles of cement and calcium sulfate are subjected to infrared sensors,...
Let’s give honour to a hidden champion of our “Cement Lime Gypsum” community: The global production of lime is many times smaller than that of “big brother” cement, however, lime is undoubtedly...
THOMAS PERTERER, CHAIRMAN OF THE BVK AND CEO LHOIST GERMANY
The election of Thomas Perterer as the new chairman of the BVK enabled Dr. Petra Strunk, Editor-in-Chief of ZKG Cement Lime Gypsum, to put to the new chairman a number of questions on the lime...
This year‘s general assembly of members of the German Lime Association (BVK) was held on the Petersberg, near Bonn, from June 30 to July 1 2022. This most important gathering of the lime industry was ...