Wednesday, 22.04.2015, witnessed not only the inauguration of the new laboratory and office building of the Institut für Baustoff-Forschung - Building Materials Institute, but also the ...
Following the March 2015 deadline for applications to exhibit at the next bauma from 11.04.-16.04.2016, it is clear that demand for exhibition space...
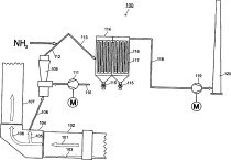
ContiTech Conveyor Belt Group, Siemens AG Process Industries and Drives Division, and ThyssenKrupp Industrial Solutions are concluding a cooperation...
In April 2015 Atlas Copco from Nacka, Sweden has released a far-reaching innovation in vacuum technology to its customers. The new GHS 350-900 VSD + ...
In many industries, quality assurance and optimization of end products is absolutely dependent on reliable measurement and correction of the moisture...
Martin Engineering from Neponset, IL/USA has redesigned an integral conveyor transfer point component to eliminate worker entry into the chute box for safer replacement, easier maintenance and reduced downtime. ...
Fritz & Macziol of Ulm/Germany now offer a new solution called eANVterminal, which enables consignment notes to be directly signed within the framework of the electronic waste documentation procedure by the carrier or haulier. ...
Around 900 participants took up the invitation issued by the Industry Applications Society (IAS) and “America’s Cement Manufacturers” (the PCA) to attend the Cement Industry Technical Conference held in Toronto from 26.-30.04.2015. ...
Following the successful Loesche symposium in 2014, the plant and systems engineer has now inaugurated a new series of seminars aimed at examining specific topics in more detail. The kick-off event was the 1st Loesche Seminar, focussing on “Alternative Fuels (AF)” and held in Vienna/Austria from 06.-08.05.2015. ...
Haver & Boecker was awarded the contract for a turnkey project in Burkina Faso by private investor Cimfaso, a company of Kanis International. In addition to the complete plant planning and engineering, which included the supply of machinery and systems for the packing plant and plant start-up, the main focus of the project was on the job of electrical engineering and automation. ...
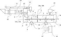
During drilling a wellbore is constantly filled with drilling mud. For the subsequent cementing process cement slurry is introduced through the casing to the lowest point and pumped back up into the space between the formation (borehole) and ...
This question might be best answered by means of an example of two reinforced concrete pre-heater towers, one is located in Europe and the other one in Asia. These cases may at first seem to be special however similarities to ...