Lime kiln and heat supply method thereof
(22) 23.04.2020
(43) 29.10.2020
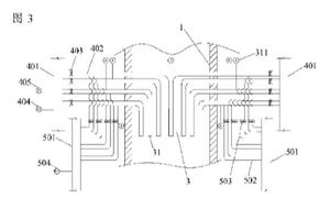
(57) Provided are a lime kiln and heat supply method thereof, said lime kiln containing a kiln chamber (1), a heating device, and a combustion-supporting fan (2); the heating device comprises a fuel supply device and a spray gun set (3); the fuel supply device comprises a coal gas supply device (4) and a pulverized-coal supply device (5); the coal gas supply device (4) comprises a coal gas ring pipe (401) and a coal gas branch pipe (402); the pulverized-coal supply device (5) comprises a pulverized-coal ring pipe (501) and a pulverized-coal branch pipe (502); the coal gas supply device (4) and the pulverized-coal supply device (5) share the spray gun set (3); each coal gas branch pipe (402) is provided with a coal-gas branch pipe regulating valve (403); each pulverized-coal branch pipe (502) is provided with a pulverized-coal branch pipe regulating valve (503); a flow rate detector (311) is disposed on the spray gun (31); a first heat-value detector (404) and a first pressure detector (405) are respectively arranged on the coal gas ring pipe (401); a second heat value detector (504) is arranged on the pulverized-coal ring pipe (501); a second pressure detector (11) is disposed inside the kiln chamber (1); the spray gun set (3) comprises a plurality of spray gun matrices; each spray gun matrix comprises a plurality of spray guns (31) evenly distributed along.
(71) Zhongye Changtian International Engineering Co., Ltd, Hunan 410000 (CN)
