NOx reduction process in a cement kiln manufacturing system
(22) 09.05.2016
(43) 21.03.2018
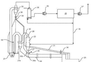
(57) Summary of the corresponding patent WO2016183027 (A1): Disclosed is a bypass system for use with off gases that have exited a cement kiln utilized in a cement making process. The bypass system is adapted to remove both NOx and volatile components that are present in the off gases while the off gases are in the bypass duct.
(71) FLSmidth A/S (DK)
