Integrated carbon dioxide capture
(22) 14.11.2019
(43) 16.07.2020
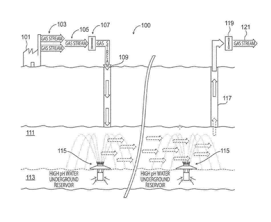
(57) A method/system for sequestering carbon dioxide from cement and lime production facilities wherein carbon dioxide from flue gases originating from cement or lime production facilities is recovered and transported to a building materials production facility where it is sequestered.
(71) CarbonCure Technologies Inc., Dartmouth (CA)
