Method for sequestering CO2 from flue gas and preparing
(22) 02.12.2022
(43) 08.06.2023
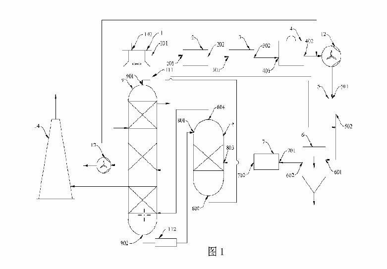
(57) A method for sequestating carbon dioxide from flue gas by using a cement clinker. The products of this method can also be used to prepare microfiber-reinforced cement. The method of the present disclosure is capable of capturing and storing carbon dioxide in flue gas, such as cement kiln flue gas.
(71) The Hong Kong Polytechnic University, Hong Kong (CN)
