Carbon capture and storage
(22) 14.01.2019
(43) 23.07.2020
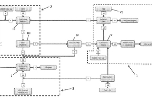
(57) It is disclosed a process and a plant or assembly of stages for producing soda lime (NaOH) and carbon dioxide, said plant comprising optionally an initial section or stage for limestone mining, crushing and screening (beneficiation) and successive sections or stages for • limestone calcination (V) and hydrated lime production • causticization (II) process • caustic soda separation • CaCO3 sludge separation • carbonation of caustic soda and soda ash solution (I) recycling to the causticization section (II).
(71) Engsl Minerals DMCC, Unit 3508, Building JBX2, Cluster X, Jumeirah Lakes Towers, Dubai (AE)
(84) ARIPO (BW, GH, GM, KE, LR, LS, MW, MZ, NA, RW, SD, SL, ST, SZ, TZ, UG, ZM, ZW), Eurasian (AM, AZ, BY, KG, KZ, RU, TJ, TM), European (AL, AT, BE, BG, CH, CY, CZ, DE, DK, EE, ES, FI, FR, GB, GR, HR, HU, EE, IS, IT, LT, LU, LV, MC, MK, MT, NL, NO, PL, PT, RO, RS, SE, SI, SK, SM, TR), OAPI (BF, BJ, CF, CG, CI, CM, GA, GN, GQ, GW, KM, ML, MR, NE, SN, TD, TG)
