Use of carbon dioxide from and for cement
(22) 24.03.2020
(43) 27.05.2020
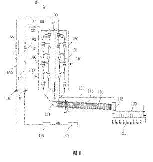
(57) Method of utilizing carbon dioxide containing gas arising as waste or by-product in one or more of the following industrial processes:
cement clinker production such as rotary kilns and/or calciner stages, oxyfuel kiln lines, or from separate calcination devices or indirect calcination of the calcium car-bonate,
carbon capture technologies, such as amine-based CO2 scrubber and membrane-based gas separation, for providing a useful carbonation product by one or more of the following production steps:
carbonation of concrete demolition waste, especially recycled concrete fines, for the production of SCM or calcite and active silica,
carbonation of industrial materials, e.g. fly ashes, slags and other, for the production of SCM or calcite and active silica,
carbonation of natural materials, e.g. olivine, serpentine, talc, MgO-containing minerals, and other, for the production of SCM or calcite and active silica, and
carbonation hardening of binders, wherein the production step is selected based on the amount of carbon dioxide in the carbon dioxide containing gas, the additional substances present in the carbon dioxide containing gas and a temperature and pressure of the carbon dioxide containing gas.
(71) HeidelbergCement AG, 69120 Heidelberg (DE)
(84) Designated Contracting States: AL AT BE BG CH CY CZ DE DK EE ES Fl FR GB GR HR HU IE IS IT LI LT LU LV MC MK MT NL NO PL PT RO RS SE SI SK SM TR; Designated Extension States: BA ME; Designated Validation States: KH MA MD TN
