From laboratory to a 500 tons per day industrial production line: the development pathway of sulphosilicate clinker
At a 500-t-per-day cement production line at Emei Mountain Qianghua Special Cement Company, grayish-black granules have been continuously discharged from the rotary kiln, marking a milestone in sulphosilicate clinker industrialization. This clinker consists of C2S, C5S2$, C4A3$, f-CaSO4, and C4AF and features lower firing temperature and reduced carbon emissions.
As one of the largest global sources of carbon emissions, the cement industry faces significant challenges in achieving emission reductions. In the conventional production process of Portland cement, clinker calcination alone accounts for approximately 8% of global carbon dioxide emissions. Consequently, the development of low-carbon cement has emerged as a critical technological pathway to mitigate carbon emissions across the entire lifecycle of clinker production and cement manufacturing. Sulphosilicate cement, as an innovative low-carbon cementitious material, integrates the performance benefits of both Portland cement and calcium Sulfoaluminate (CSA) cement, offering substantial potential for wide-ranging applications.
For a long time, ternesite (C5S2$, Ca5(SiO4)2SO4) has been regarded as an inert or minimally reactive mineral due to its limited hydration activity in the absence of supplementary components [1]. This long-standing view has hindered its utilization in cementitious systems. However, recent studies have demonstrated that in the presence of reactive amorphous alumina, C5S2$ can undergo hydration reactions with water, generating hydration products such as ettringite (AFt, Ca6Al2(SO4)3(OH)12·26H2O), Strätlingite((Ca2Al(AlSiO7)·8H2O), and calcium silicate hydrate (C-S-H) gel. These reaction products contribute to the development of a dense and cohesive microstructure, indicating significant potential for enhanced performance in advanced cement formulations [1, 2]. The primary mechanism driving this reactivity is the activation effect induced by various aluminates, including tricalcium aluminate (C3A, 3CaO·Al2O3), Mayenite (C12A7, 12CaO·7Al2O3), calcium aluminate (CA, CaO·Al2O3), and Ye’elimite (C4A3$, 4CaO·3Al2O3·SO3). The relative effectiveness of these activators follows the order: C12A7 ≈ CA > C3A >> C4A3$ [3].

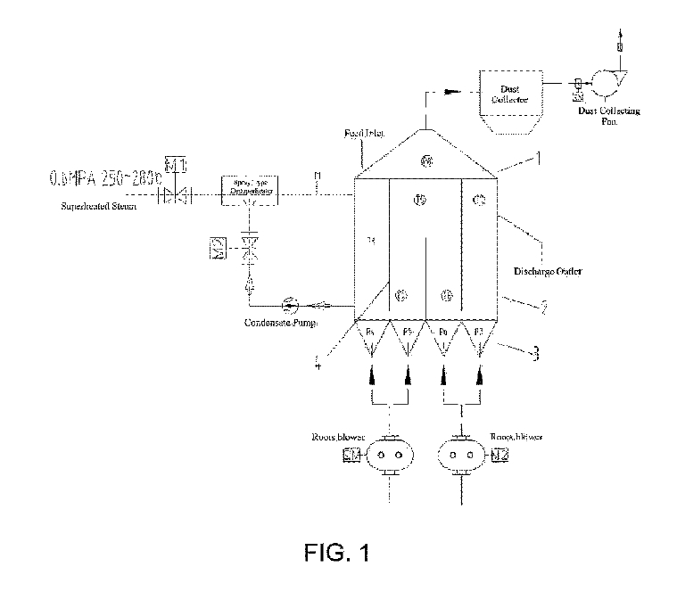
Fig. 1 The processes of raw meal preparation and calcination/cooling regime of sulphosilicate clinker [10]
Based on this foundation, scholars have conducted systematic research on the synthesis of Belite-Ye’elimite-Ternesite (BYT) clinker. A range of preparation methods has been successfully developed, including a two-stage calcination process [4−6], the use of low-grade industrial raw materials such as limestone, gypsum, shale, and high-alumina fly ash [7], and the one-step synthesis of BYT clinker using raw material combinations including limestone, bauxite, clay, and gypsum [8] or phosphogypsum [9]. From a thermodynamic perspective, clinker formation can be facilitated by multiple calcination cycles, mineralizer doping, and controlled calcination atmospheres [2]. However, from the standpoint of reaction kinetics, processes involving repeated calcination and precise atmosphere regulation encounter significant challenges related to scalability and operational complexity, rendering them less suitable for large-scale, continuous industrial production due to high energy consumption and process inefficiencies.
The research team from the China Building Materials Academy (CBMA) has systematically investigated and resolved the issues related to the thermal stability and reactivity of ternesite (C5S2$). Their findings indicate that the formation of C5S2$ is facilitated by the prior generation of intermediate silicate phases such as calcium silicate (CS, CaO·SiO2) and belite (C2S, 2CaO·SiO2), with a formation mechanism analogous to a “sunflower”-type core-shell structure, in which a C2S-rich core is progressively surrounded by a growing C5S2$ shell, resembling the arrangement of petals around a central disc. Ion doping was employed to modify the degree of structural ordering and crystallinity of C5S2$. The incorporation of alkali metal oxides—including Li2O, Na2O, K2O—and Al2O3 significantly enhanced the early hydration reactivity of C5S2$, thereby accelerating its hydration kinetics and promoting the development of mechanical properties. This discovery holds substantial practical value. By leveraging ion doping technology, the research team successfully reduced the firing temperature of the C5S2$ phase to 1100°C while simultaneously improving its stability and reactivity within cementitious systems, thus establishing a solid foundation for industrial-scale production.
Recently, the newly developed Sulphosilicate clinker (SSC) system, synthesized using low-grade bauxite and industrial solid waste—or even entirely substituting aluminum and sulfur sources with such wastes—has achieved successful industrial-scale trial production. To date, pilot-scale trials have been conducted on production lines with capacities of 10, 50, and 500 t per day, respectively. Table 1 summarizes the key advantages of BYT clinker compared to conventional Portland cement (PC) clinker and calcium sulfoaluminate (CSA) cement clinker. Compared to conventional Portland cement clinker, the Sulphosilicate clinker reduces CO2 emissions by approximately 25–35% and energy consumption by 10%–15%. These results demonstrate a technically feasible solution for advancing the low-carbon transformation of the cement industry. The incorporation of an appropriate amount of alkali metal oxides effectively lowers the clinker firing temperature, while the addition of 1.0 wt% P2O5 extends the optimal firing temperature window to 1250°C, thereby improving process adaptability under diverse production conditions.


Fig. 2 Industrial Production Site and Appearance of Sulphosilicate Clinker [10]
3 Key challenges in industrial production
Despite the promising technical advances, scaling up sulphosilicate clinker production presents several practical challenges:
Raw Material Homogenization: The use of low-grade bauxite and variable industrial solid wastes (e.g., phosphogypsum, fly ash) introduces fluctuations in chemical composition and particle size, which can affect clinker uniformity and reactivity. Advanced pre-blending and grinding technologies are required to ensure consistent feed quality.
Calcination Regime Control: Maintaining a stable temperature profile in the rotary kiln within the narrow optimal window (~1250°C) is critical for promoting the desired mineral phases (C4A3$, C5S2$) while avoiding the decomposition of ternesite or excessive formation of melt phases. Real-time monitoring and adaptive control systems are essential.
Solid Waste Utilization: While the incorporation of industrial byproducts reduces raw material costs and environmental footprint, their impurities and heavy metals may influence clinker mineralogy and long-term durability. Pre-treatment and careful dosage optimization are necessary to balance performance and sustainability.
4 Life-cycle and performance advantages
A simplified life-cycle assessment (LCA) based on the 500 t/d production trial indicates that BYT clinker reduces CO2 emissions by 25–35% and energy consumption by 10–15% compared to conventional Portland cement clinker. The lower calcination temperature (~1250°C vs. ~1450°C) directly cuts fuel use and associated emissions. Furthermore, the substitution of virgin limestone and clay with industrial wastes (e.g., phosphogypsum, shale) decreases both quarrying impacts and waste disposal burdens.
At room temperature, Sulphosilicate cement derived from this clinker exhibits a combination of the superior early-age performance characteristic of CSA cement and the sustained strength development typical of Portland cement. This unique property confers significant value across a range of application scenarios. Studies indicate that optimal clinker performance can be achieved through precise optimization of mineralogical composition. A high content of C4A3$ and C5S2$ phases contributes to a low water demand for standard consistency and enhanced strength development. The primary hydration products of Sulphosilicate cement include AFt, calcium alumino-ferrite mono-sulfate hydrate (AFm, Ca4Al2O6SO3·12H2O), Gibbiste (AH3, Al(OH)3), Portlandite (CH, Ca(OH)2), Gehlenite hydrate (C2ASH8, 2CaO·Al2O3·SiO2·8H2O), and C-S-H [2]. Notably, the formation of C2ASH8 is primarily attributed to the synergistic hydration reaction between C4A3$ and C5S2$, a mechanism that plays a critical role in the material’s outstanding performance [2].
As Table 2 shows, the novel Sulphosilicate clinker system has been demonstrated to “possess the potential for large-scale production and application,” exhibiting significant utility in marine engineering, rapid repair works, and extreme low-temperature environments. The research team at the China Building Materials Academy (CBMA) has secured multiple patents for the Sulphosilicate clinker and its preparation technology. This technological breakthrough, emerging at a critical juncture in global sustainability efforts, is actively driving the transformation of the traditional cement industry toward enhanced efficiency and environmentally sustainable production. Fueled by the growing global demand for sustainable construction materials and the advancing implementation of China’s “dual carbon” strategy, the large-scale deployment of Sulphosilicate cement is poised for substantial growth. As this material transitions from laboratory-scale research to industrial-scale manufacturing, the innovation has transcended purely technical advancement and is progressively being converted into tangible productive capacity.

The successful operation of a 500 t/d industrial line for sulphosilicate clinker marks a decisive step toward low-carbon cement manufacturing. Through ion-doping-assisted reactivity enhancement, optimized firing regimes, and the integration of industrial wastes, this technology achieves meaningful reductions in both energy use and CO2 emissions while delivering competitive early and long-term performance. Continued efforts in process control, raw material standardization, and full-scale LCA validation will further accelerate its commercial adoption and contribution to a sustainable built environment.
Acknowledgement
The research and development of Sulphosilicate clinker has been supported by the National Key R&D Program of China during the 14th Five-year Plan Period (No. 2022YFC3803101) and the National Natural Science Foundation of China (No. 52341202). The 500 tons per day industrial trial production has been carried on at Emei Mountain Qianghua Special Cement Company of Jiahua Special Cement Co., Ltd.
[1] Galan I, Steindl FR, Grengg C, Dietzel M, Mittermayr F. On the hydration of ternesite and the formation of thaumasite. Cem Concr Res. 2023;172:107212. doi:10.1016/j.cemconres.2023.107212.
[2] Liu L. Preparation of new low-carbon clinker based on the structure and activity regulation of ternesite [dissertation]. Beijing, China: China Building Materials Academy; 2023.
[3] Montes M, Pato E, Carmona-Quiroga PM, Blanco-Varela MT. Can calcium aluminates activate ternesite hydration? Cem Concr Res. 2018;103:204–15. doi:10.1016/j.cemconres.2017.10.017.
[4] Shen Y, Qian J, Huang Y, Yang D. Synthesis of belite sulfoaluminate-ternesite cements with phosphogypsum. Cem Concr Compos. 2015;63:67–75. doi:10.1016/j.cemconcomp.2015.09.003.
[5] Shen Y, Wang P, Chen X, Zhang W, Qian J. Synthesis, characterisation and hydration of ternesite. Constr Build Mater. 2021;270:121392. doi:10.1016/j.conbuildmat.2020.121392.
[6] Bullerjahn F, Schmitt D, Ben Haha M. Effect of raw mix design and of clinkering process on the formation and mineralogical composition of (ternesite) belite calcium sulphoaluminate ferrite clinker. Cem Concr Res. 2014;59:87–95. doi:10.1016/j.cemconres.2014.02.004.
[7] Yang Y. Synthesis of Ternersite-Caicium Sulfoaluminate Cement from low-grade raw materials [dissertation]. Chongqing, China: Chongqing Univerisity; 2020.
[8] Hanein T, Galan I, Glasser FP, Skalamprinos S, Elhoweris A, Imbabi MS, et al. Stability of ternesite and the production at scale of ternesite-based clinkers. Cem Concr Res. 2017;98(1):91–100. doi:10.1016/j.cemconres.2017.04.010.
[9] Huang Y. Utilization of phosphogypsum for the preparation of ternesite-calcium sulfoaluminate cement [dissertation]. Chongqing, China: Chongqing Univerisity; 2018.
[10] Cao L. Study on preparation, properties, and hydration mechanism of sulphosilicate clinkers [dissertation]. Beijing, China: China Building Materials Academy; 2025.
