Cement additive made from old concrete
(22) 05.03.2024
(43) 19.09.2024
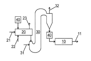
(57) The present invention relates to a method for treating mineral material such as old concrete, old hardened cement paste el and the like, wherein the mineral material is carbonated and mechanically activated.
(71) Thyssenkrupp Polysius GmbH, Essen (DE)
(84) ARIPO (BW, CV, GH, GM, KE, LR, LS, MW, MZ, NA, RW, SC, SD, SL, ST, SZ, TZ, UG, ZM, ZW), Eurasian (AM, AZ, BY, KG, KZ, RU, TJ, TM), European (AL, AT, BE, BG, CH, CY, CZ, DE, DK, EE, ES, FI, FR, GB, GR, HR, HU, IE, IS, IT, LT, LU, LV, MC, ME, MK, MT, NL, NO, PL, PT, RO, RS, SE, SI, SK, SM, TR), OAPI (BF, BJ, CF, CG, CI, CM, GA, GN, GQ, GW, KM, ML, MR, NE, SN, TD, TG).
