Simplification of the process of capturing carbon dioxide from exhaust gases of a cement system
(22) 18.06.2024
(43) 02.01.2025
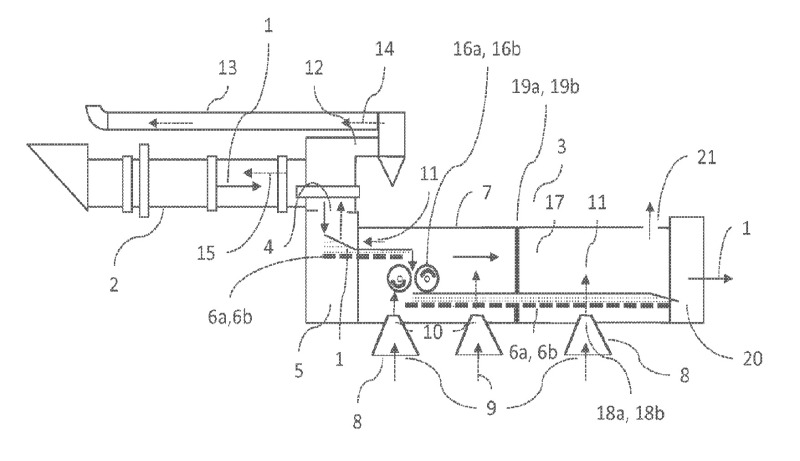
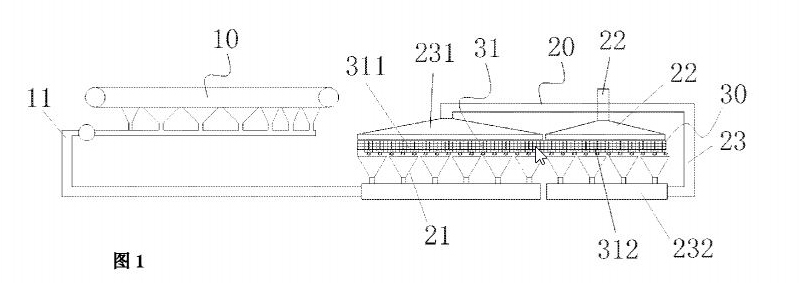
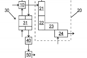
(57) The invention relates to a device for thermally treating a mineral material. The device has a heat consumer, in particular a comminuting device (10), and a treatment device (20), wherein the treatment device has a gas outlet, and the heat consumer, in particular the comminuting device (10), has a gas inlet. The invention is characterized in that the device has a gas-gas heat exchanger (30), said gas-gas heat exchanger (30) having a first side with a first inlet and a first outlet and a second side with a second inlet and a second outlet. The gas outlet is connected to the first inlet, and the second outlet is connected to the gas inlet. The gas-gas heat exchanger (30) is a rotary heat exchanger.
(71) Thyssenkrupp Polysius GmbH; 59269 Beckum (DE); Thyssenkrupp AG; 45143 Essen (DE)
(84) ARIPO (BW, CV, GH, GM, KE, LR, LS, MW, MZ, NA, RW, SC, SD, SL, ST, SZ, TZ, UG, ZM, ZW), Eurasian (AM, AZ, BY, KG, KZ, RU, TJ, TM), European (AL, AT, BE, BG, CH, CY, CZ, DE, DK, EE, ES, FI, FR, GB, GR, HR, HU, IE, IS, IT, LT, LU, LV, MC, ME, MK, MT, NL, NO, PL, PT, RO, RS, SE, SI, SK, SM, TR), OAPI (BF, BJ, CF, CG, CI, CM, GA, GN, GQ, GW, KM, ML, MR, NE, SN, TD, TG).
