The European kraft paper and paper sack industry has put further efforts into improving its carbon footprint. In only three years, between 2015 and 2018, the carbon intensity of a single paper sack...
HeidelbergCement has launched the fifth edition of the Quarry Life Award, its nature-based competition involving more than 20 countries worldwide. Researchers, students, local communities, NGOs and...
Sometimes I get caught in some hard-to-explain brain-twisting from out of nowhere. Curious? A main topic of this issue of ZKG Cement Lime Gypsum is quality control. This combination of words evokes...
Not all industrial working environments will necessarily present the same challenges a PPE (Personal Protective Equipment) must face. In a general sense: “Not all occupations and work areas require...
Upper Austria’s GPVC – Gerhard Pichler Verschleißtechnik & Consulting GmbH – has succeeded, by developing “VR Plug2Work”, in adding to traditional engineering processes a virtual-reality (VR) tool....
Thanks to digitalization, it is no longer unusual to parametise and commission single components remotely. Beumer Group thinks ahead and, for the first time, commissions a complete packaging line...
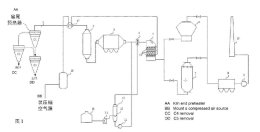
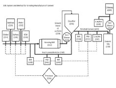
(22) 20.12.2018(43) 01.04.2021(57) The present invention provides a method and system for manufacturing cement wherein ground particles of cement and calcium sulfate are subjected to infrared sensors,...
(22) 07.05.2020(43) 15.04.2021(57) A grate cooler working state monitoring method based on image recognition, comprising: a hardware adjustment step (S1); a camera calibration step (S2); an image data...
(22) 30.06.2020(43) 25.03.2021(57) Provided is an SCR denitration system for cement kiln flue gas. The system is arranged between a waste heat boiler and a raw mill of a cement production device, and...
(22) 09.09.2020(43) 18.03.2021(57) The present invention is directed to a biopolymer cement additive, a biopolymer cement composition containing the additive, the use of the additive for the...
(22) 10.09.2019(43) 11.03.2021(57) A wellbore servicing composition comprising: cement kiln dust (CKD), an organic acid, and water. A method of servicing a wellbore penetrating a subterranean...
(22) 30.07.2018(43) 01.04.2021(57) Provided herein are fiber reinforced cementitious materials and mixtures with increased crack resistance. The cementitious materials and mixtures include a cement...
(22) 04.11.2020(43) 11.03.2021(57) A conveyor grate for conveying bulk material (preferably cement clinker) in a conveying direction, which has at least two conveying means and at least one motor for...
(22) 09.09.2019(43) 22.03.2021(57) The subject of the invention is a method of producing Portland clinker with the use of de-ferrous steel slags in a rotary kiln, inclined downwards from the...
(22) 26.12.2018(43) 17.03.2021(57) It involves integrating the gas streams of an electric power generation plant in a different way, using a biomass boiler, with the gas streams of the facilities of a...
(22) 02.12.2020(43) 23.03.2021(57) 1. Cement clinker, consisting of the following components: alite, belite, tricalcium aluminate, tetracalcium aluminate ferrite and free lime, characterized in that...
Many production plants have big issues with big amounts of dust and the unpreventable resulting problems. The material that is conveyed from one end of the production to the other spills over to the...
During the last 20 years, the handling of bulk materials in China has changed considerably, among other things due to changes in environmental and occupational health requirements and more stringent...
“Building industry alarmed – Germany needs more gypsum”, “Where are we going to get gypsum in future?” – these were just a couple of the headlines appearing in the general media in recent times....
The purpose of this literature review is to assist the development of composite cements for better understanding of the state of the art of the use of Portland/limestone/fly-ash cement (PCC). In order...
Green cement is being considered by the global cement industry as a strategy to reduce carbon emissions and simultaneously deliver economic benefits to producers. FCT have developed FlashCalx™ and...
The cement industry is always looking for innovations and a quick return on the capital employed. One such opportunity is modular cement grinding plants. Various proven compact plant concepts are...
In 2020, the Wietersdorfer Group generated global sales of € 720 million. This corresponds to an increase of 1.9% compared to the previous year. For its strategic further development, the group will...
The production of cement releases large quantities of carbon dioxide (CO2). Only a third of these CO2 emissions result from the combustion of fossil fuels such as coal or petroleum coke, while the...
The company CEP Clean Energy Project S.a.r.l. in Contern/Luxembourg has developed and brought to market in recent years an efficient, compact system for fuel and emission reduction. The working...
A CO2-reduced product portfolio is a key component of Holcim’s sustainability strategy. Following the launch of the sustainable ECOPact concretes in early 2020, Holcim is now placing CO2-reduced...
Opterra GmbH has been providing a selection of quality cements in bagged form for smaller construction companies and specialist firms via specialist dealers and in DIY stores for many years. Like all...
An enhanced product customisation programme has been announced by Juniper Systems Limited, for their line of ultra-rugged handheld computers and sub-meter GNSS receiver. Whilst product customisation...
Imagine an entire twenty storey concrete building which can store energy like a giant battery. Thanks to unique research from Chalmers University of Technology, Sweden, such a vision could someday be...
Last year BillerudKorsnäs and Haver & Boecker published a total of nine sack packaging norms. These norms cover the basics and some of the most critical factors that need to be taken into account when...
bp and Cemex have announced that they will work together on accelerating the progress of Cemex’s 2050 ambition to deliver net-zero CO2 concrete globally.The two companies have agreed to a memorandum...
Fatih Yücelik was elected as the Chairman of the Board of TürkÇimento, which is the umbrella institution for the cement sector, as of 26 April 2021. Fatih Yücelik was unanimously elected by the Board...
Ferrous slags, by-products of steel production, have been used as secondary raw materials in building materials for decades. This avoids CO2 emissions on a large scale and conserves natural resources. ...
The regional cement demand in West Africa is growing steadily and the cement producers are counting on reliable and economical solutions. Thus, Gebr. Pfeiffer is again delivering an MVR ...
Portland Cement Association (PCA) Market Intelligence Group’s Senior Vice President and Chief Economist Ed Sullivan recently presented their annual spring cement consumption forecast, predicting an ...
The Striatus bridge was built for the “Time Space Existence” exhibition, hosted by the European Cultural Centre (ECC) during the Venice Architecture Biennale 2021, which takes place from...
As part of its portfolio optimization and margin improvement programme in its North American business, HeidelbergCement has signed an agreement to sell its business activities in the U.S. West region...
In line with HeidelbergCement’s “Beyond 2020” strategic targets, the Supervisory Board of HeidelbergCement has decided to establish two new positions on the Managing Board in order to further drive...
The World Cement Association has announced the launch of its Climate Partnership programme, under which it will collaborate with organisations such as NGOs, thinktanks and sustainability-focussed...
On 23 September 2020, MC-Bauchemie Müller GmbH & Co. KG registered a new, wholly-owned company in the Philippines. Having obtained the legally required approvals from the authorities, MC-Bauchemie...
Gallantt Industry Pvt. Ltd has ordered its first ready2grind compact plant for the Indian subcontinent. The plant will be installed in their Gorakhpur factory.With 65 t/h at an average product...
In March 2021, all seven German Dyckerhoff cement plants and ten ready-mix concrete plants were awarded the “Gold” seal by the Concrete Sustainability Council (CSC). The Amöneburg, Lengerich, Deuna,...
Bardon Hill Quarry near Leicester in Leicestershire is one of the United Kingdom’s oldest continuously operated quarries. Aggregate Industries UK Ltd has recently developed a new quarry extension at...
In production, Märker Zement GmbH relies on alternative fuels (AFR). The manu-facturer has therefore commissioned Beumer Group with the supply of a single-source solution that is able to convey and...
Dear Readers, We often ask where the trends are going – big, very powerful and stationary or mobile, agile and flexible? Mega plants or smaller modules – or a crossover? This discussion exists at many ...