What does the future of our working world and our production processes look like? In the construction materials industry, too, the signs as a result of digitalization point to change, with ...
The Haver & Boecker Southern Africa team has been reorganized. The new Managing Director Norbert Tschudy is now supervising the company and brings in his years of experience in international technical...
Upon conclusion of his third term at the end of January 2020, Dr. Bernd Scheifele will give up the chair of the Managing Board of HeidelbergCement AG to the current Deputy Chairman, Dr. Dominik von...
Biennially since 2011, during the beautiful “white nights” natural phenomenon in St. Petersburg, the business meeting is being conducted to discuss the most relevant issues of the modern cement...
The CCS Conference (TCCS-10) will gather 500 international carbon capture and storage (CCS) researchers, industry representatives and policy makers in Trondheim/Norway on 17.06.-19.06.2019. TCCS-10 is...
Cemex announced that it has signed an agreement for the sale of assets in the Baltics and Nordics to the German building materials group Schwenk, for approximately € 340 million.The Baltic assets...
Using all state-of-the-art technology for the project, Dalmia Bharat Group will minimise its environmental impact and maximise its productivity at their new Rajgangpur site.From crusher to packing...
In November 2018, Vecoplan continued its positive growth trend with the establishment of a Polish branch office for recycling and waste in Warsaw. Headquartered in Bad Marienberg in Germany’s...
Following the successfully finished projects in the Ivory Coast and Burkina Faso, Intercem has been granted a new order in West Africa from Les Cimenteries de la Basse-Guinée for a 500000 t/a cement...
Claudius Peters parent company, Langley Holdings plc, the diverse engineering and industrial group, published its IFRS Annual Report & Accounts for the year ended 31.12.2018. The Group’s Chairman,...
The Spanish consortium consisting of Messrs. Sacyr Industrial and Imasa Ingenieria y Proyectos awarded another contract to Claudius Peters for the delivery of a packing and palletizing system for the ...
Effective 01.04.2019, Dr. Falco Paepenmüller became Chief Technology Officer (CTO), a newly-created position, of the machinery manufacturer’s Management Board. Paepenmüller assumes responsibility for ...
In a German cement plant the secondary fuel dosing system had to be optimized and Intercem was commissioned to do so. The scope of delivery includes the following items: Disassembly on site ...
MVW Lechtenberg & Partner has announced the 6th Alternative Fuels Symposium, which will take place in Duisburg/Germany from 23.09.-25.09.2019. This highly regarded symposium will gather delegates from ...
MAN Energy Solutions has successfully commissioned six MAN 18V32/40 engines at a cement factory in Samawa/Iraq and delivered five more engines of the same type to a freshwater treatment plant in ...
HeidelbergCement announced the sale of around 1.1 million shares representing 7.8 % of Ciments du Maroc’s share capital for an aggregate amount of approximately € 140 million. The shares were sold to...
According to prognoses for the current business year, the Liebherr Group will once again increase revenues, even surpassing the € 10 billion-€ mark for the first time in the company’s history. Drivers...
The demands on mechanical drives in plants in the construction and construction materials industry are clear: reduction of installation space, high dynamics, ruggedness, corrosion resistance and easy ...
Globally, the clinker content in cement is in decline, driven by modern cement standards, higher market awareness and potential cost savings by producers. However, cement constituents such as fly ash...
The history of the Flender brand vertical mill gear units starts in 1978. Since then they have become appreciably smaller, higher-performing and more efficient. However, development does not stop ...
As a construction material, concrete faces growing requirements – the same therefore applies to cement. One of the key objectives is to reduce the cost of cement production and the associated...
The acceleration of cement hydration through synthetic C-S-H shows great potential in increasing the early strength of cementitious systems. The selection of a suitable calcium-to-silicon ratio and...
(22) 23.03.2017(43) 30.01.2019(57) Summary of the corresponding patent DE102016003751 (A1): Die Erfindung betrifft eine Anlage (100, 200) zur Herstellung von Zementklinker, aufweisend mindestens einen...
(22) 07.11.2017(43) 25.01.2019(57) Summary of the corresponding patent EP2253600 (A1): The present invention relates to a cement comprising Portland cement clinker and a clinker replacement material,...
(22) 23.02.2012(43) 31.01.2019(57) Summary of the corresponding patent WO2012117159 (A1): The present invention relates to a method and an arrangement for burning lime mud into lime in a lime kiln....
(22) 06.04.2018(45) 21.01.2019(57) Field: construction. Substance: invention relates to the construction industry and can be used in the production of lime by burning limestone in special kilns....
(22) 28.11.2017(45) 31.01.2019(57) Field: construction. Substance: invention relates to the production of building materials and can be used to produce high-quality cements. Method of producing cement...
(22) 05.06.2015(43) 30.01.2019(57) The present invention relates to a cement compound. The invention also relates to a method for producing such a cement compound. More in particular, the...
(22) 14.09.2018(43) 17.01.2019(57) A method for reducing pollution in a cement kiln environment and a system for treating cement kiln exhaust gas are provided. The method includes the steps of:...
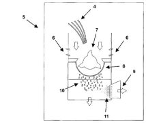
(22) 31.01.2017(43) 17.01.2019(57) A calcined gypsum treatment apparatus has an agitating type of cooler provided with a cooling region for cooling the calcined gypsum, and a moisture supplying device...
(22) 12.01.2017(43) 24.01.2019(57) A feed apparatus for feeding cement to a cement silo of a mining machine includes a receptacle for receiving cement, a transfer tube connected at a first end of the...
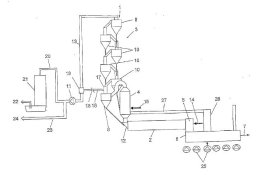
(22) 20.01.2017(43) 24.01.2019(57) A method to thermally convert alternative fuels within a loop seal reactor by utilizing preheated/calcined cement meal as the heat source within which alternative...
(22) 24.09.2018(43) 07.02.2019(57) In a process for the production of cement clinker, in which raw meal is preheated in a preheater (3) using the hot exhaust gases from a clinker kiln, and the...
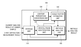
(22) 15.02.2017(43) 07.02.2019(57) An analysis apparatus, an analysis method, and an analysis program by which even unskilled ones can perform quantitative analysis of a composition of...
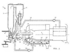
(22) 12.04.2016(43) 14.02.2019(57) A plant for production of cement clinker from raw meal, having a calciner for deacidification of the raw meal and a rotary furnace for sintering the deacidified raw...
(22) 07.07.2018(43) 24.01.2019(57) Cleaning process for recycling Kraft paper in packaging of the cement-bag type and other, similar packaging (1), comprising the cleaning process for recycling, and...
(22) 23.07.2018(43) 07.02.2019(57) Provided are a cement admixture and a cement composition, which, in a cement concrete cured body, have excellent anti-rust effects on an internal rebar, have...
The emergence of large-scale additive manufacturing (AM) technology has been increasing around the world. This large-scale AM technology has facilitated several projects using cement-based materials....