Analysis apparatus, analysis method and analysis program
(22) 15.02.2017
(43) 07.02.2019
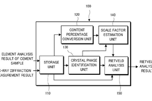
(57) An analysis apparatus, an analysis method, and an analysis program by which even unskilled ones can perform quantitative analysis of a composition of high-performance cement with high precision. An analysis apparatus 100 for performing quantitative analysis of components of cement, includes: a content percentage conversion unit 120 for converting content percentages of major elements of a cement sample to content ratios of main crystal phases composing the cement sample by predetermined formulae, the content percentages being obtained as an elemental analysis result; a scale factor estimation unit 140 for estimating initial values of scale factors of Rietveld analysis from the content ratios of main crystal phases obtained in the conversion; and a Rietveld analysis unit 150 for performing Rietveld analysis with respect to an X-ray diffraction measurement result of the cement sample using the initial values of scale factors previously been estimated to calculate content percentages of respective phases of the cement sample.
(71) Rigaku Corporation, Tokyo (JP)
(73) Rigaku Corporation, Tokyo (JP)
