Valve bag
(22) 28.06.2017
(43) 04.06.2020
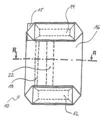
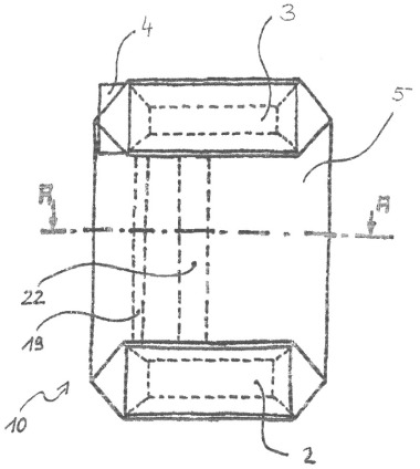
(57) A valve sack for bulk material such as cement, gypsum, pellets, animal feed, or similar having a stand-up base, preferably a cross-base or a block base, and having a valve base that is disposed opposite the stand-up base and into which a valve hose is worked that forms a valve for filling the valve sack in the region of a first corner fold of the base fold, characterized in that the valve hose is formed from a thermal material and from a material different therefrom, with both materials being weldable or sealable with one another to close the valve.
(71) dy-pack Verpackungen Gustav Dyckerhoff GmbH, Wenden-Gerlingen (DE); Haver & Boecker OHG, Oelde (DE)
