Systems, methods and devices for
cement manufac ture
(22) 23.07.2021
(43) 27.01.2022
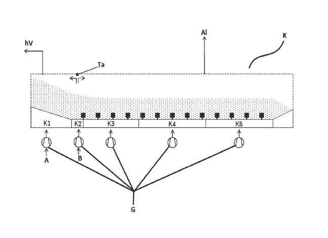
(57) High temperature furnaces, calcining, pyrolysis and other high temperature manufacturing processes, composition rearrangements, and equipment. Systems, equipment and processes using oxyfuel combustion using gaseous fuels for cement manufacture. Reactor furnaces using oxyfuel containing natural gas and gravity feed to process pellets forming a pellet bed into cement.
(71) Furno Materials Inc (US)
