Process and plant for manufacturing cement in the oxyfuel mode
(22) 31.03.2017
(43) 19.10.2017
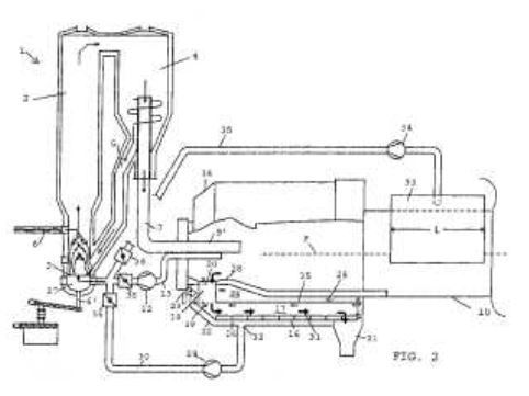
(57) Process for operating a cement or lime plant comprising a cement (1, 11) or lime kiln (21, 31) and a calciner (2, 12), wherein heat is generated by combustion of a fuel in the kiln (1, 11, 21, 31) and/or calciner (2, 12), wherein a gas fed to the kiln (1, 11, 21, 31) and the calciner (2, 12) or to the calciner (2, 12) for combustion of the fuel contains an oxygen rich exhaust gas from a bioreactor (4, 14, 24, 34) containing photoautotrophic organisms and wherein the plant is preferably operated in the oxyfuel mode by using exhaust gas from the kiln (1, 21) and/or calciner (2) together with the oxygen from the bioreactor as the gas fed to the kiln (1, 21) and/or calciner (2) for combustion of the fuel.
(71) HeidelbergCement AG, Berliner Str. 6, 69120 Heidelberg (DE)
(84) ARIPO (BW, GH, GM, KE, LR, LS, MW, MZ, NA, RW, SD, SL, ST, SZ, TZ, UG, ZM, ZW), Eurasian (AM, AZ, BY, KG, KZ, RU, TJ, TM), European (AL, AT, BE, BG, CH, CY, CZ, DE, DK, EE, ES, FI, FR, GB, GR, HR, HU, IE, IS, IT, LT, LU, LV, MC, MK, MT, NL, NO, PL, PT, RO, RS, SE, SI, SK, SM, TR), OAPI (BF, BJ, CF, CG, CI, CM, GA, GN, GQ, GW, KM, ML, MR, NE, SN, TD, TG)
