Pressurised kiln for calcinating limestone sands using an underground internal combustion chamber
(22) 12.06.2018
(43) 20.12.2018
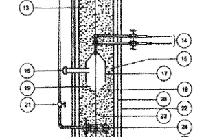
(57) The present invention relates to a kiln for calcinating limestone and dolomitic sands to obtain quicklime (CaO). The invention also relates to a system for hydrating the quicklime inside the kiln to obtain hydrated lime (Ca(OH)2), also known as slaked lime. The kiln is vertical and operates under pressure, with the interior thereof containing an underground calcination chamber (17) housing at least one heat source. The kiln can calcinate sands with a high calcium carbonate (CaCO3) content, operating at a temperature of between 900 and 1000°C for a period of between 2 and 3 hours. The upper part of the kiln is equipped with a device for cleaning and scrubbing the combustion gases. The interior of the kiln is also equipped with means for supplying cooling air, water for hydration to obtain slaked lime, and a discharge device that regulates the time the material remains in the kiln, said device being used to control the degree of calcination and quality of the product.
(71) Bricio Ochoa, Francisco Javier, Paseo de la Noria #3408, Col. Colinas de San Javier, Zapopan, Jalisco, 45110 (MX)
(84) ARIPO (BW, GH, GM, KE, LR, LS, MW, MZ, NA, RW, SD, SL, ST, SZ, TZ, UG, ZM, ZW), Eurasian (AM, AZ, BY, KG, KZ, RU, TJ, TM), European (AL, AT, BE, BG, CH, CY, CZ, DE, DK, EE, ES, FI, FR, GB, GR, HR, HU, IE, IS, IT, LT, LU, LV, MC, MK, MT, NL, NO, PL, PT, RO, RS, SE, SI, SK, SM, TR), OAPI (BF, BJ, CF, CG, CI, CM, GA, GN, GQ, GW, KM, ML, MR, NE, SN, TD, TG)
