Methods for producing a cement composition
(22) 17.10.2017
(43) 27.02.2020
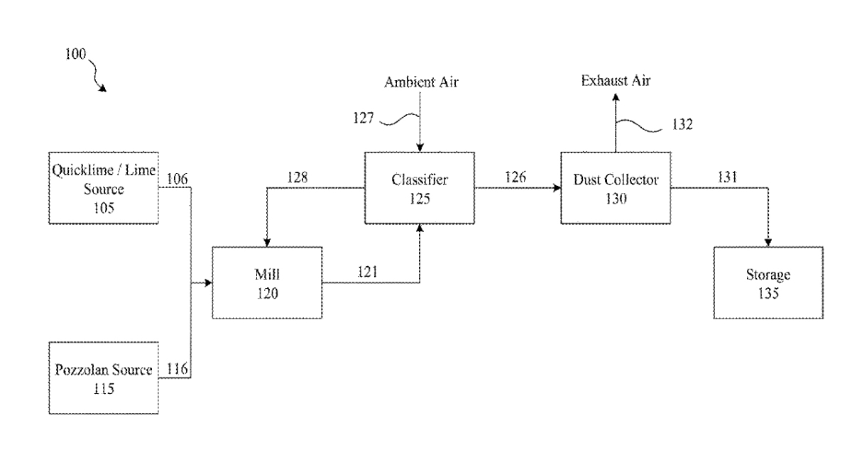
(57) The present disclosure relates to improved methods for producing a cement composition. Disclosed herein are methods for producing a cement composition, comprising: mixing reactants comprising a reactive powder and a retardant in the presence of water; mixing an accelerator into the reactants, wherein the accelerator is added after the mixing of the reactive powder and retardant; and allowing the reactants to react to form the cement composition. Further disclosed are methods for producing a cement composition, comprising: mixing reactants comprising a reactive powder and a retardant in the presence of water; wherein the reactive powder comprises Portland cement and/or Portland cement clinker, and silica fume and/or colloidal silica; and allowing the reactants to react to form the cement composition.
(71) Boral IP Holdings (Australia) PTY Limited; Keyte, Louise Margaret; Lloyd, Redmond Richard (AU)
