Method of producing a cement composition
(22) 17.10.2016
(43) 04.05.2017
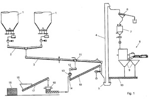
(57) A method of producing a cement composition, which comprises Portland cement and at least one added component, comprising the steps of : – storing Portland cement powder in a container (1), in particular a silo of a cement manufacturing plant, – conveying the Portland cement powder to a packing station (8) or a loading installation for loading a cement composition to a transport vehicle, – measuring the mass flow of Portland cement powder during said conveying step, – adding the at least one added component to said Portland cement powder during said conveying step so as to obtain a cement composition, the added amount of said at least one added component being controlled as a function of the mass flow of Portland cement powder.
(71) Holcim Technology Ltd, Zürcherstrasse 156, 8645 Rapperswil (CH)
(84) ARIPO (BW, GH, GM, KE, LR, LS, MW, MZ, NA, RW, SD, SL, ST, SZ, TZ, UG, ZM, ZW), Eurasian (AM, AZ, BY, KG, KZ, RU, TJ, TM), European (AL, AT, BE, BG, CH, CY, CZ, DE, DK, EE, ES, FI, FR, GB, GR, HR, HU, IE, IS, IT, LT, LU, LV, MC, MK, MT, NL, NO, PL, PT, RO, RS, SE, SI, SK, SM, TR), OAPI (BF, BJ, CF, CG, CI, CM, GA, GN, GQ, GW, KM, ML, MR, NE, SN, TD, TG)
