Method for treating sludge and cement manufacturing system
(22) 27.08.2018
(43) 25.07.2019
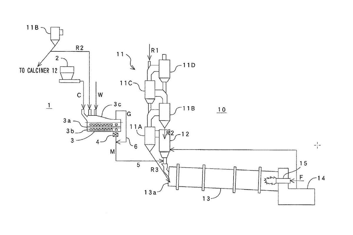
(57) This method for treating sludge comprises: mixing dewatered sludge and cement raw material to make a mixture; drying the mixture with a dryer which brings the mixture into contact with a drying gas; supplying a dried mixture as a fuel and a raw material for a firing step for a cement manufacturing process; supplying an exhaust gas from the dryer as a cooling gas for a fired product for the firing step; and supplying, as the drying gas, an exhaust gas of 50-200 °C (exclusive of 200 °C) to the dryer, the exhaust gas being an exhaust gas for a cement manufacturing process or an (…).
(71) Kawasaki Jukogyo Kabushiki Kaisha, Hyogo (JP)
