Method for producing cement clinker
(22) 18.11.2014
(43) 27.07.2020
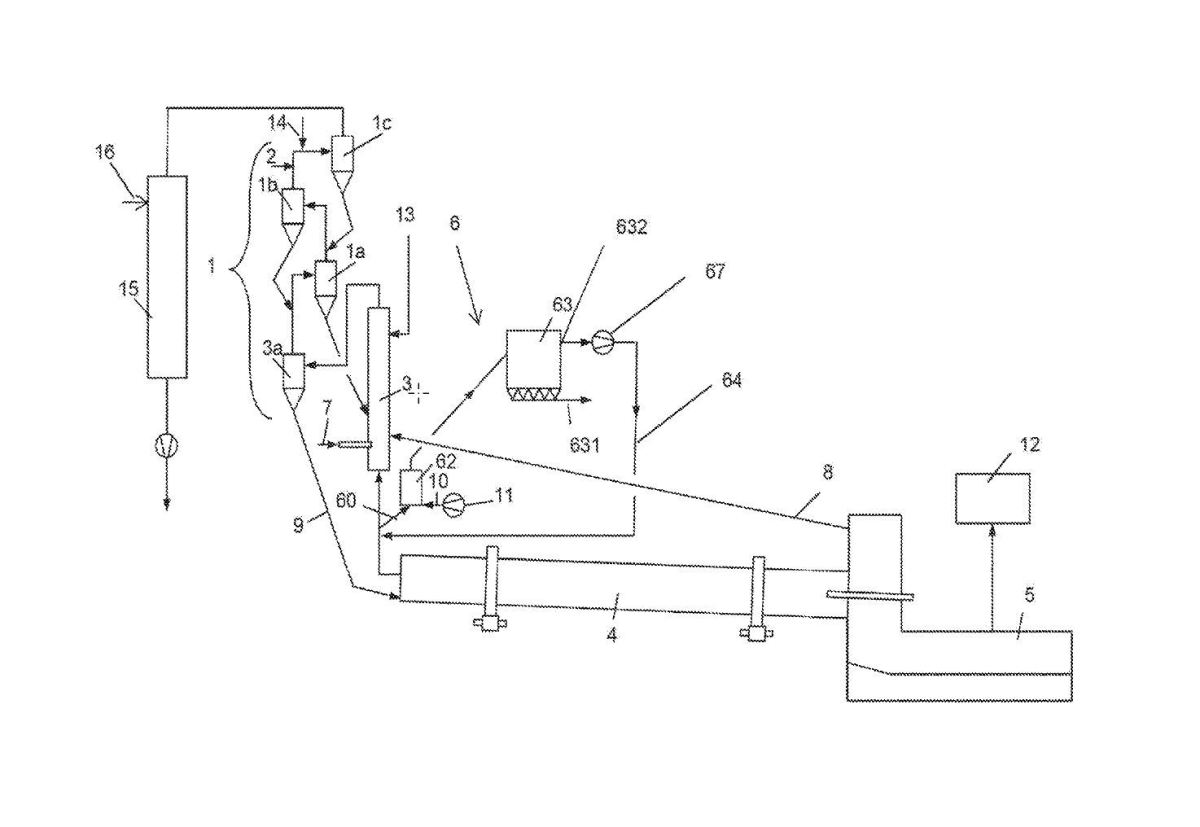
(57) Summary of the corresponding patent EP2881377 (A1): In bekannten Verfahren zur Herstellung von Zementklinker wird ein CaCo3-haltiges Rohmehl in einem Kalzinator entsäuert und anschließend in einem Drehrohrofen zu Klinker gebrannt. Dabei wird an einem Brenner im Kalzinator ein üblicherweise niederkalorischer Brennstoff mit Tertiärluft verbrannt. Dabei entsteht in erheblichem Umfang Kohlenmonoxid, das nur teilweise mit Stickoxiden zur Reaktion gebracht werden kann und in einem nicht unerheblichen Umfang in die Umgebung abgegeben wird. Zur Reduzierung des Kohlenmonoxidgehalts im Abgas des Kalzinators wird erfindungsgemäß vorgeschlagen, dass dem Kalzinator im Bereich des Brenners zusätzlich zur Tertiärluft reiner Sauerstoff zugeführt wird. Dadurch wird das Anbrennen des Brennstoffs Kalzinatorbrenner beschleunigt und die Bildung von Kohlenmonoxid unterdrückt und bereits entstandenes Kohlenmonoxid wird zumindest teilweise nachverbrannt.
(71) Messer Austria GmbH (AT)
