Method for analyzing cement integrity in casing strings using machine learning
(22) 18.05.2016
(43) 24.11.2016
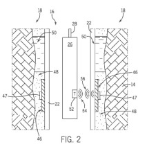
(57) The present disclosure provides methods and systems for analyzing cement integrity in a depth interval of a wellbore having a multiple string casing with an innermost annulus disposed inside at least one outer annulus. The method includes processing ultrasonic data obtained from ultrasonic measurements on the interval of the wellbore to determine properties of the innermost annulus. The method also includes processing sonic data obtained from sonic measurements on the interval of the wellbore to extract features of the sonic data. The features of the sonic...
