Method and reactor for producing pcc
(22) 19.08.2024
(43) 26.02.2025
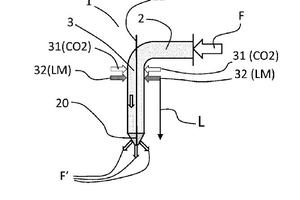
(57) The present invention relates to a method and a reactor to crystalize calcium carbonate and to form crystals in a liquid flow (F) with the concentration of 2.5-5% inside or on the surfaces of a fiber dispersion containing solid matter,
- carbon dioxide (CO2) (CO2) and lime milk (LM) (Ca(OH)2) are fed into liquid flow (F) to get them to react with each other, carbon dioxide (CO2) and/or lime milk (LM) is injected with a mixer (3, 31, 32) crosswise into liquid flow (F)
- the injecting is performed in the feed tube (2) in such a way that the dwell time of the crystallizing reaction is 0.5-10 seconds before the nozzle (20) of the reactor (1), after which the liquid flow (F) is mixed with the liquid or fiber suspension in container (4).
(71) Wetend Technologies Oy, 57230 Savonlinna (FI)
(84) AL, AT, BE, BG, CH, CY, CZ, DE, DK, EE, ES, Fl, FR, GB, GR, HR, HU, IE, IS, IT, LI, LT, LU, LV, MC, ME, MK, MT, NL, NO, PL, PT, RO, RS, SE, SI, SK, SM, TR.
Designated Extension States: BA. Designated Validation States: GE, KH, MA, MD, TN.
