Method and installation for producing lime or dolime
(22) 10.05.2022
(43) 17.11.2022
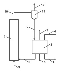
(57) Method and installation for producing lime or dolime, comprising a calcination of calcareous or dolomitic material in contact with first fumes obtained by combustion of fuel with an oxidizing gas, a cooling of calcined lime or dolime with discharge and collect thereof and a release of a gaseous effluent containing CO2, said method further comprising a CO2 depletion of said gaseous effluent by passing it through a sorbent material based on CaO which captures CO2 and forms a CaCO3-CaO based charge, a separation between the CaCO3-CaO based charge and the CO2-depleted gaseous effluent, which is removed, a calcination of the separated CaCO3-CaO based charge in contact with second fumes obtained by combustion of a fuel poor in impurities with an oxidizing gas comprised of dioxygen and CO2, with, formation of said CaO-based sorbent material, a separation between the CaO-based sorbent material and a CO2-concentrated gas stream which is collected, a recycling of said separated CaO-based sorbent material into the CO2 depletion step and an extraction of a valorizable fraction of the CaCO3-CaO based charge with a compensatory introduction of fresh CaCO3 (29) in the calcination step.
(71) S.A. Lhoist Recherche et Developpement (BE)
