Method and device for the production of cement clinker
(22) 25.03.2021
(43) 18.05.2023
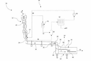
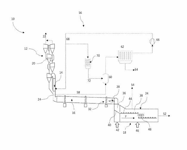
(57) A process for producing cement clinker may involve pre-heating raw meal in a preheater, calcining the preheated raw meal in a calciner, burning the preheated and calcined raw meal in a furnace to give cement clinker, cooling the cement clinker in a cooler, branching off a portion of the furnace offgases flowing out of the furnace as bypass gas, cooling the bypass gas in a mixing chamber with a cooling gas, and separating out dust present in the bypass gas. The cooling gas is formed at least partly or completely from the bypass gas and/or the calciner offgas and/or the preheater offgas. The cooling gas is introduced into the mixing chamber in a ratio of 2-10:1 relative to the bypass gas.
(71) thyssenkrupp Industrial Solutions AG, Essen (DE)
(73) thyssenkrupp Industrial Solutions AG, Essen (DE)
