Manufacturing method of Portland cement clinker
(22) 12.04.2025
(43) 24.10.2025
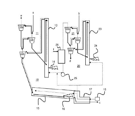
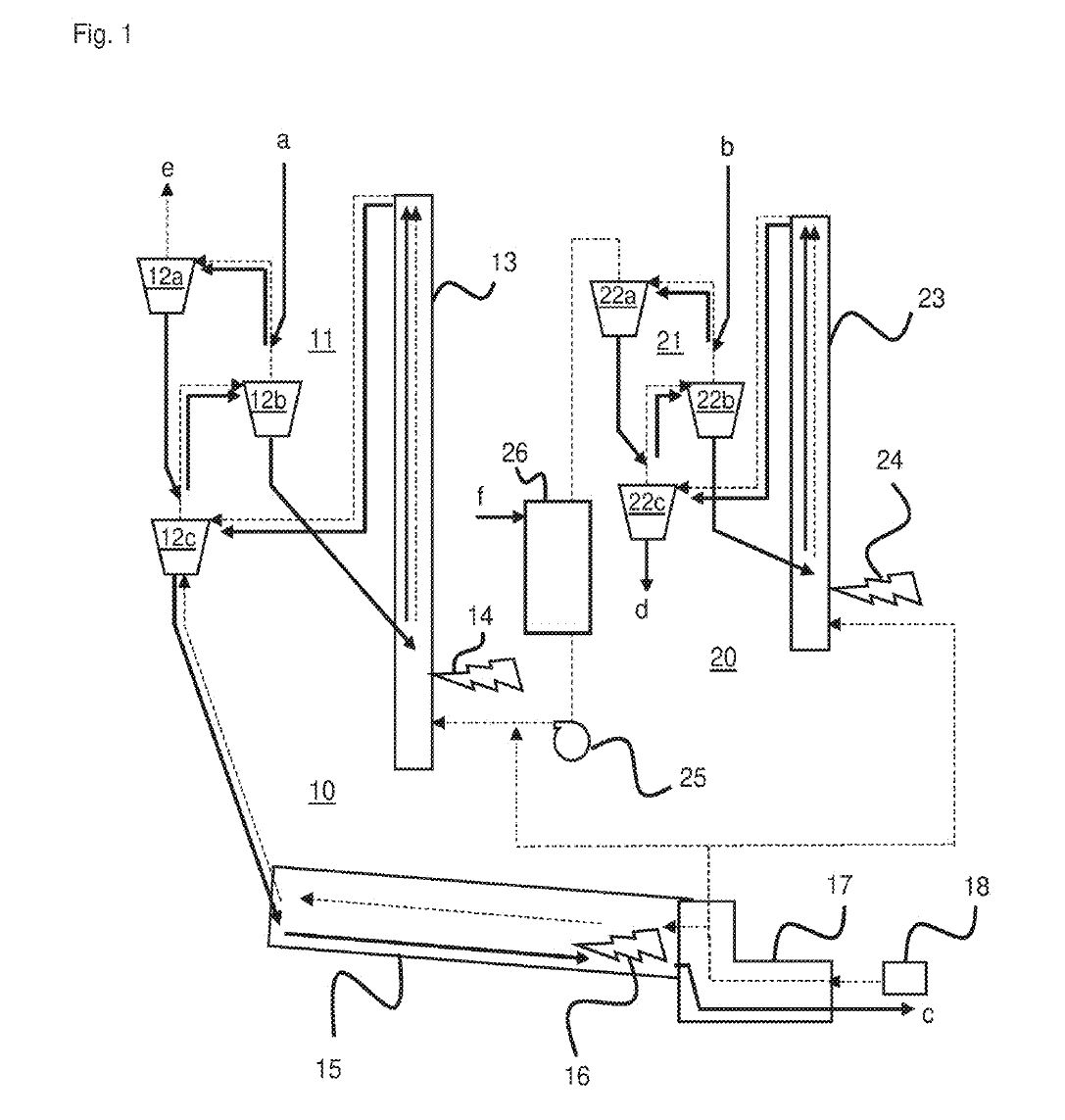
(57) Provided is a manufacturing method of a cement clinker, the method being capable of reducing a firing temperature in manufacturing and providing a product that exhibits excellent initial strength development even when containing Mg0, while regulating CO2 emission. This method uses a waste concrete material as a part of a starting material. The starting material is conditioned so that the total amount of C3A and C4AF is 22 mass% or more and the amount of C3S is 60 mass% or more when calculated by the Bogue formula, the iron modulus (I.M.) is 1.3 or less, and the Mg0 content is 1 1-1 5 mass%. This starting material is fired at 1,300-1,400 °C to give a Portland cement clinker.
(71) Tokuyama Corporation (JP), Yamaguchi (JP)
(84) ARIPO (B W, CV. GH, GM, KE, LR, LS, MW, MZ, NA, RW, SC, SD, SL, ST, SZ, TZ, UG, ZM, ZW), Eurasian (AM, AZ, BY, KG, KZ, RU. TJ, TM), European (AL, AT, BE, BG, CH, CY, CZ, DE, DK, EE, ES, FI, FR, GB, GR, HR, HU, IE, IS, IT, LT, LU, LV, MC, ME, MK. MT, NL, NO. PL, PT, RO, RS, SE, SI, SK, SM. TR), OAPI (BF, BJ, CF, CG, CI, CM, GA, GN, GQ, GW, KM, ML, MR, NE, SN, TD, TG).
