Device and method for manufacturing cement clinker and calcined clay
(22) 08.12.2022
(43) 29.06.2023
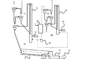
(57) Method and device for the combined manufacturing of cement clinker (c) and calcined clay (d), wherein the cement clinker (c) is produced in a cement manufacturing line (10) by the steps: providing a cement raw meal (a), preheating and precalcining the cement raw meal (c) in a preheater and calciner section (11), sintering the precalcined cement raw meal in a rotary kiln (15) to provide the cement clinker (c) and cooling the cement clinker (c) with a counter current air stream in a clinker cooler (17) providing hot air, and wherein the calcined clay (d) is produced in a clay manufacturing line (20) by the steps: providing a clay raw material (b), preheating the clay raw material (b) in a heat exchange section (21), and calcining the preheated clay raw material suspended in gas in a flash calciner (23) to provide the calcined clay (d), wherein the hot air from the cooler (17) is divided into at least two streams, a first combustion air stream used in sintering the cement raw meal and a second combustion air stream used in calcining the clay raw.
(71) HConnect 2 GmbH, 69120 Heidelberg (DE)
(84)) ARIPO (BW, CV, GH, GM, KE, LR, LS, MW, MZ, NA. RW, SD, SL, ST, SZ, TZ, UG, ZM, ZW), Eurasian (AM, AZ, BY, KG, KZ, RU, TJ, TM), European (AL, AT, BE, BG, CH, CY, CZ, DE, DK, EE, ES, FI. FR, GB, GR, HR, HU, IE. IS, IT, LT, LU, LV, MC, ME, MK, MT, NL, NO, PL, PT, RO, RS, SE, SI, SK, SM, TR), OAPI (BF, BJ, CF, CG, CI, CM, GA, GN, GQ, GW, KM, ML, MR, NE, SN, TD, TG)
