The Portland Cement Association (PCA) has announced its Roadmap to Carbon Neutrality, an ambitious journey to carbon neutrality across the cement and concrete value chain by 2050. Given the significant role of cement in society ...
In the year 2018 on the occasion of its General Assembly and Information Exchange Forum in South Africa the ILA joined the Global Initiative “Vision Zero” (www.visionzero.global) for safety, ...
When I was 16, I learned an important lesson the hard way: I was with my friends romping around on the stage of our local theatre where my friend had to prepare the stage for the show next day. ...
(22) 23.03.2021(43) 30.09.2021(57) The purpose of the present invention is to surely convert. a biomass ash into resources. For this purpose, provided are a biomass ash modification method and a...
(22) 18.03.2021(43) 30.09.2021(57) Provided is cement clinker and a cement composition with which it is possible to improve the strength development of mortar while suppressing the increase in...
(22) 18.03.2021(43) 30.09.2021(57) Provided are a cement clinker and a cement composition which can be reduced in heat of hydration and are excellent in short term strength development. A cement...
(22) 23.03.2020(43) 30.09.2021(57) Disclosed are a vertical mill having a grinding roller with ball studs, and a grinding roller and a grinding disc. The vertical mill comprises a grinding disc (4)...
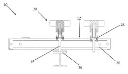
(22) 09.03.2021(43) 16.09.2021(57) The present invention relates to a cooler (10) for cooling bulk material (12), in particular cement clinker, having a cooling-gas space (14), through which a stream...
(22) 05.03.2021(43) 16.09.2021(57) The aim of the invention is to provide a hydraulic binder based on ground granulated blast-furnace slag, devoid of Portland cement, which enables improved setting...
(22) 23.02.2021(43) 02.09.2021(57) The present invention falls within the field of building materials and relates to a process for separating the components of hardened concrete for the purpose of...
(22) 06.09.2019(43) 30.09.2021(57) A cooler for cooling bulk material such as cement clinker may include a stationary aeration grate that is for receiving the bulk material is passably by a flow of...
(22) 29.03.2021(43) 23.09.2021(57) Described are cementitious reagent materials produced from globally abundant inorganic feedstocks. Also described are methods for the manufacture of such...
(22) 14.07.2017(43) 23.09.2021(57) A fluidized-bed-type apparatus and method for treating gypsum, which activates or improves fluidity of gypsum powder to promote an effect of treatment of gypsum,...
(22) 25.07.2019(43) 16.09.2021(57) A novel cement composition for 3D printing including has 90% to 99.5% by weight of one or more cements selected from a Portland cement, an aluminous cement, a...
(22) 15.05.2021(43) 02.09.2021(57) Disclosed herein are systems and methods from processing flue gas desulfurization (FGD) gypsum feedstock and ash feedstocks, either separately or together. FGD...
(22) 02.03.2020(43) 06.09.2021(57) The subject of the application is a method of reducing the amount of cement in cement mixtures, in which cement is replaced with another binder, characterized by the...
(22) 05.02.2018(43) 08.09.2021(57) Disclosed is a lime kiln device for fully recovering CO2 and a lime preparation method thereof. The lime kiln device comprise a kiln body (100) and a heating furnace...
(22) 13.03.2020(43) 15.09.2021(57) (Abstract title): Manufacture of high alumina hydraulic binders: A method for the manufacture of a high alumina hydraulic binder comprising hydrating a source of...
Slip-ring motors (known as wound-rotor motors in the USA) have been used for many decades as prime mover machines in cases where high starting torques with low starting currents are needed.
In order to achieve controlled and consistent flow on conveyors handling large volumes of bulk material, transfer chutes and vessels must be designed not just to accommodate – but to actually...
Even though RDF can be used as an alternative fuel to the cement industry, the utilization of RDF results in sulfur dioxide (SO2), nitrogen oxides (NOx) and particles emissions. Doping with additives...
Production of high reactive lime is now possible with inexpensive blast furnace gas. A new and innovative Parallel Flow Regenerative lime kiln process using 100% blast furnace gas achieves the same...
Blending beds are used for storage, mixing and homogenisation. For the most frequently used configuration, the longitudinal stack, using the “chevron” stacking variant, a design algorithm on the basis...
The Oman Cement Company (OCC) SAOG, Muscat/Oman, has upgraded the performance of its 30-year-old conveyor, which transports hot cement powder from the cement mill to the silo, from 150 t/h to 250 t/h....
Cool Planet Technologies Limited (CPT), a sustainable technology company focussed on affordable CO2 capture, and its partner Helmholtz-Zentrum hereon GmbH have signed a Memorandum of Understanding...
Cement production emits a considerable amount of greenhouse gases due to the intense use of energy and the very nature of the calcination reactions. This situation has led the industry to make...
Since the beginning of 2021 Jura-Cement-Fabriken AG Switzerland has been using the newly launched Premas® 4.0 Predictive Maintenance Solution on an Aumund Belt Bucket Elevator at its cement plant in...
Digitalization is one of today’s big buzzwords. But what does it mean in practical terms for the cement industry? Can digital tools and services contribute to enhancing efficiency, raising...
On 16 and 17 February 2022 the trade shows Solids & Recycling-Technik and Pumps & Valves will once again open their doors to the trade public in Dortmund. Preparations for the trade show trio are in...
Over 500 participants from 30 different countries took part in the virtual CECE Summit 2021 in Brussels/Belgium on October 21st, 2021. The summit took a deep dive into future scenarios of jobsites and...
Production of level and pressure measurement technology in Maulburg expanded, Endress+Hauser has invested roughly € 46 million in the expansion of its Maulburg, Germany location. The project, which...
The Alpacem Group’s digitalization offensive has been in full swing over the past five years. During this period, more than € 5 million have been invested in innovative plant and environmental...
Sika has signed a definitive agreement to acquire MBCC Group, the former BASF Construction Chemicals, from an affiliate of Lone Star Funds, a global private equity firm, for a consideration of CHF 5.5...
Following the successful introduction of the VAS IT logistics solution at Lhoist’s European plants, the collaboration between the global lime and limestone producer and Axians Industrial Applications &...
An exceptionally high contribution from large-scale plant business has filled the order books of machinery and plant manufacturers strongly in September. Orders increased by 65% in real terms compared...
New greenfield contract from Indian Cement producer Shree Cement sees FLSmidth deliver a series of sustainable equipment, including one of the world’s largest Cross-Bar Coolers, the FLSmidth OK ...
A cement kiln at the Ribblesdale plant of HeidelbergCement’s subsidiary Hanson UK has successfully been operated using a net zero fuel mix as part of a world-first demonstration using hydrogen...
Large quantities of crude iron can be recovered during steel production and at the same time a CO2-saving binder can be produced for the cement industry. The Bundesanstalt für Materialforschung und...
Urgent action in three key areas could save around 900 million t of CO2 annually by 2030. On November 10th, 2021, Ian Riley, World Cement Association CEO spoke at the Sustainable Innovation Forum...
Thomas Schulz, FLSmidth’s Group CEO, has made the decision to take a role outside of the company, and will therefore step down as FLSmidth’s CEO by the end of 2021. Mikko Keto, who joined FLSmidth in...
RHI Magnesita, a global leader in the production and supply of fireproof products and systems, is investing € 30 million in a new rotary kiln line for its mine in Brumado in the State of Bahia,...
ABB has strengthened its existing digital offerings with the launch of the ABB Ability Genix Asset Performance Management (APM) Suite for condition monitoring, predictive maintenance and 360-degree...
After TrendSet, the pilot trade fair for Messe München under coronavirus conditions, was held successfully in July, IAA Mobility took place in September with an elaborate safety and hygiene concept....
Dr. Jennifer Scheydt, Head of Engineering & Innovation at HeidelbergCement Germany, joined the Managing Board of the Institut für Bauen und Umwelt e. V. (IBU) in June 2021.According to its own...
Dear Readers, At the start of 2021, there was a general vague hope that with a sufficient number of vaccine doses and those willing to be vaccinated, the “spook” could be put to an end by the fall ....