The Arab Union for Cement and Building Materials (AUCBM) is an inter-Arab organization, affiliated to the League of Arab States and Council of Arab Economic Unity. On 20.11.-22.11.2018 the AUCBM’s ...
From 01.09.2018 Bodo Radmacher is General Manager After Sales Service of Aumund Fördertechnik GmbH in Rheinberg/Germany. Bodo Radmacher has been with Aumund since 1984, the year he started his...
HAMtek Technologies India Private Limited is a general contractor, designing and manufacturing coal handling plants. Its customer, Meenakshi Energy Private Limited has a 2 x 350 MW coal-based thermal...
The carbon footprint of paper cement sacks is 2.5 times smaller than the carbon footprint of form-fill-seal (FFS) polyethylene cement sacks. This is the outcome of a comparative study by the Swedish...
On 16.08.2018, MC-Bauchemie Brazil officially opened the new mortar production of MC at Vargem Grande Paulista in São Paulo with more than 130 customers, suppliers, partners and representatives of...
In the six months to 30.06.2018, Langley Holdings plc, the engineering and industrial group, reported a profit before tax of € 43.5 million on revenues of € 398.2 million.Tony Langley, the group’s...
Takraf announced the receipt of an important project award for the supply of two High-Pressure Grinding Rolls (HPGRs) for a cement plant in Turkey. The company’s HPGR machines have been designed from...
German cement manufacturers invest a lot of money in environmental protection. As shown by the recently published “Environmental Data of the German Cement Industry 2017”, constant investment in...
Bei Liu – the Chinese Lubao Cement Company is currently having a new plant built for the production of cement clinker with a total daily capacity of 4500 t in Bei Liu, in the province of Guang Xi, in...
CRH plc announced the appointment to the Board of Mary Rhinehart (60) and Siobhan Talbot (54) as non-execu-tive Directors. Mary Rhinehart joined with effect from 01.10.2018 and Siobhan Talbot will...
Schenck Process announced the acquisition of Process Components Ltd (”PCL”) and its subsidiaries – including the Kemutec Group Inc. in the US – with its well-known brands kemutec, KEK-Gardner, mucon...
HeidelbergCement has announced that its subsidiary Helwan Cement has entered into an agreement with Emaar Industries to sell its White Cement plant in Minya/Egypt. The deal is valued at an EV/EBITDA...
Loesche has now received the order for the delivery of a vertical roller mill for a new 7000 t/d production line from the Flying Cement Company Ltd (FCCL) based in the Pakistani city of Lahore.The raw ...
What will the future of sustainable construction look like? More than 50 young architects and engineers participated in the international LafargeHolcim Next Generation Awards Lab in Mexico City to ...
This year’s WCA World Cement Conference, in association with Intercem, will focus on the “Future of the Cement Industry”, following a reshaping of the industry caused by digitalisation, new ...
ABB recently won an order to provide additional integrated digital automation and electrical equipment for Tan Thang Cement Joint Stock Company’s greenfield cement plant in the Nghe An province in ...
San Miguel Northern Cement Incorporated is relying on Loesche technology for the new 5000 t/d production line at the Sison site in the province of Pangasinan.The scope of supply includes two complete...
Flexco offers various skirting systems to avoid loss of material in belt conveyor transfer areas in coal mines, steel mills and cement production. Fasteners combined with skirting systems effectively...
w&p Zement in the Görtschitz Valley has achieved further progress towards lower-emission and thus more sustainable cement production: following the initial period of the two-year pilot operation at w&p ...
Some 650 attendees from 26 different countries gathered in Weimar for the latest ibausil – International Conference on Building Materials. Now, for the 20th time around, the event was hosted in the ...
From 26.09.–28.09.2018 more than 600 representatives from the international cement industry and associated suppliers, as well as from scientific and research institutes around the world, gathered at ...
ibausil, the International Conference on Building Materials, is a widely known international forum for scientific debate. The objective of this top-class conference is to bring together science and ...
In Wallonia, the southern part of Belgium, the Beumer Group Pipe Conveyor transports fly ash quietly and dust-free, passing through motorways, railways, residential areas and steep rocks.
Cement and concrete are the most important construction materials but the manufacturing industry is also one of the largest industrial CO2 emitters. Accordingly, the EU plans to reduce the CO2...
More than most companies realize, hackers are setting their sights on industrial plants. This article explains why information and telecommunications security is on the industrial agenda. It tells...
The aim is to produce planar products based on calcium sulfate composite binders. In initial trials it was demonstrated that (up to five-times) higher strengths can be achieved with this mixed binder...
The studies that were undertaken have made it possible to establish the influence of plasticizers and their complexes on the rheological, physical and mechanical properties of gypsum-cement-pozzolan...
Today, the main direction in the cement industry for saving both resources and energy is the development of low-clinker or blended cements using one-component and complex mineral additives. Promising...
(22) 13.10.2016(43) 29.08.2018(57) Summary of the corresponding patent US2017107151 (A1): This invention relates to water-resistant gypsum products manufactured with water-based emulsions comprising...
(22) 21.10.2016(43) 05.09.2018(57) Summary of the corresponding patent WO2017072047 (A1): This invention relates to water-resistant gypsum products manufactured with water-based emulsions comprising...
(22) 03.11.2016(43) 12.09.2018(57) Disclosed are various methods for reducing levels of elemental sulfur within gypsum products such as wall board. Gypsum sometimes includes increased levels of...
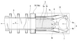
(22) 28.07.2014(43) 31.08.2018(57) Summary of the corresponding patent DE102013108410 (B3): Das erfindungsgemäß Verfahren zum Brennen und Kühlen von Karbonatgesteinen erfolgt in einem...
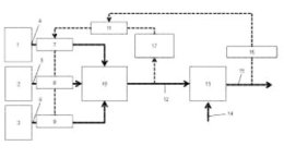
(22) 02.05.2017(43) 24.08.2018(57) Field: manufacturing technology. Substance: invention relates to the areas of production of materials using rotary kilns, for example, in the cement, metallurgical,...
(22) 11.04.2018(43) 16.08.2018(57) A cementitious composition includes (i) white Portland cement having a fineness of about 350-550 m2/kg, D90 between about 11-50 μm, and total combined iron oxide,...
(22) 26.08.2015(43) 30.08.2018(57) A mixer has a circular housing defining a mixing area for mixing and kneading of a gypsum slurry. A rotary disc is positioned in the housing and rotated in a...
(22) 02.01.2018(43) 06.09.2018(57) The present invention is a new method to efficiently reclaim cement from a horizontal warehouse. This new reclaiming method combines a mechanical cement reclaiming...
(22) 25.10.2017(43) 16.08.2018(57) A method of making a cement composition, comprising grinding a cement clinker and a strength-enhancing agent, thereby producing a hydraulic cementitious powder,...
(22) 08.02.2018(43) 07.09.2018(57) In the method according to the invention for producing cement, initially in a cement clinker process cement clinker is produced from cement raw meal to form a...
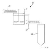
(22) 26.06.2013(43) 28.08.2018(57) Summary of the corresponding patent WO2014206452 (A1): The invention relates to a gypsum plasterboard production plant, comprising at least one circulating conveyor...