Moisture management in vertical roller mills
(22) 01.02.2019
(43) 06.08.2020
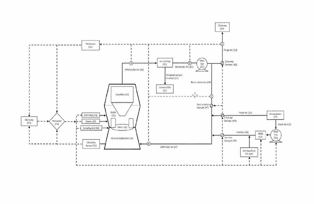
(57) Disclosed are exemplary method and system for manufacturing cement in a vertical roller mill (VRM) using humidity sensor readings. This enables adjustment of operational variables such as material feed, water, grinding additives, air flow, temperature, and their combinations. Exemplary embodiments allow manufacturers to predict and to improve cement properties, such as strength and setting time, by monitoring and managing humidity of air in the VRM and/or its air flow system.
(71) GCP Applied Technologies Inc., 62 Whittemore Ave., Cambridge, MA 02140 (US)
(84) ARIPO (BW, GH, GM, KE, LR, LS, MW, MZ, NA, RW, SD, SL, ST, SZ, TZ, UG, ZM, ZW), Eurasian (AM, AZ, BY, KG, KZ, RU, TJ, TM), European (AL, AT, BE, BG, CH, CY, CZ, DE, DK, EE, ES, FI, FR, GB, GR, HR, HU, IE, IS, IT, LT, LU, LV, MC, MK, MT, NL, NO, PL, PT, RO, RS, SE, SI, SK, SM, TR), OAPI (BF, BJ, CF, CG, CI, CM, GA, GN, GQ, GW, KM, ML, MR, NE, SN, TD, TG)
