Method for manufacturing cement substitute product using melting ferronickel slag
(22) 29.05.2018
(43) 26.07.2019
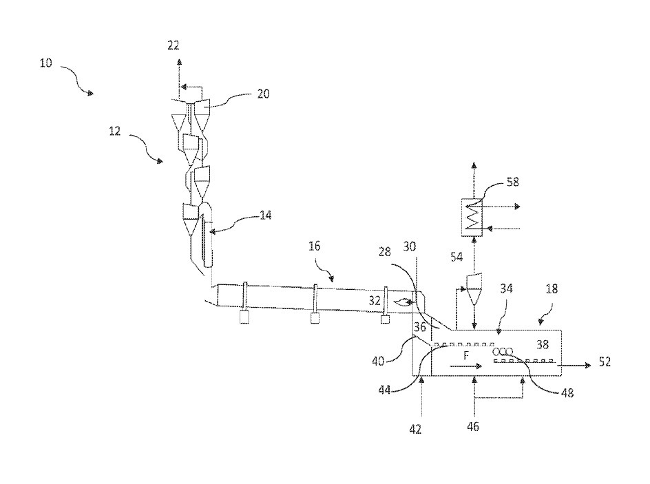
(57) The present invention relates to a method for producing a cement substitute using ferronickel slag, an input step of introducing ferronickel slag, a cooling step of stirring and cooling the ferronickel slag with a cooling medium, and separation of water and fine particles. A first step of conveying ferronickel slag first, a filtering step of filtering by a drum filter, a recovery step of recovering and transporting slag containing glassy, and a second step of dehydrating fine particles, and a circulation step of circulating the coolant to be reused by heat exchange. Therefore, the present invention predicts the critical cooling rate according to the prediction of molten ferronickel slag according to the operating conditions of the manufacturing process of cement substitute using ferronickel slag, so that the cooling conditions can be optimized to produce a glass slag with high glass content. Provide effect.
(71) Posco Eng & Constr Co Ltd (KR)
