测试详情页广告位2
US 2018/0028967 A1

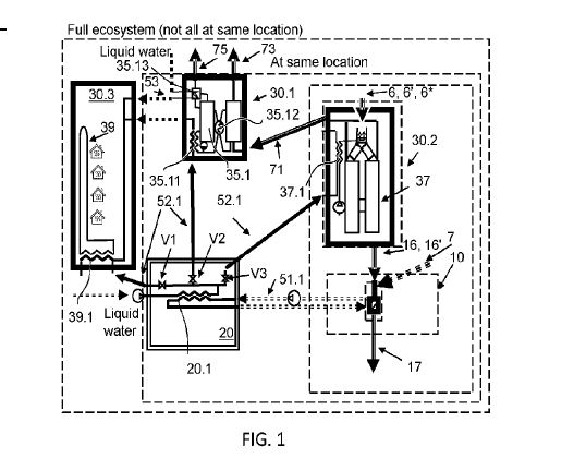
Method for capturing carbon dioxide

(22) 09.10.2017

(43) 01.02.2018

(57) A method for integrating a carbon capture process with a process for cement production.

(71) General Electric Technology GmbH, Baden (CH)

Related articles:

Issue 10/2020 US 2020/0223760 A1

Integrated carbon dioxide capture

(22) 14.11.2019(43) 16.07.2020(57) A method/system for sequestering carbon dioxide from cement and lime production facilities wherein carbon dioxide from flue gases originating from cement or lime...

more
Issue 3/2021 US 2021/0060478 A1

Carbon capture system comprising a gas turbine

(22) 09.03.2018(43) 04.03.2021(57) A method and a plant for capturing CO2 from an incoming flue gas. The flue gas can be exhaust gas from coal and gas fired power plants, cement factories or...

more
Issue 04-05/2025 CN118420253 (A)

Preparation method of low-carbon general cement

(22) 24.02.2024(43) 02.08.2024(57) The invention discloses a preparation method of low-carbon general cement. The main technical method comprises the following steps: selecting a raw material...

more
Issue 03/2025 WO 2025/051979 A1

Carbon capture process

(22) 06.09.2024(43) 13.03.2025(57) Abstract: A CO2 capture process comprising: -Hydrating quicklime materials (16) and/or quick dolomitic lime materials (16‘) to produce hydrated materials (17); -...

more
Issue 03/2024 WO 2024/041244 A1

Carbon capture auxiliary system for cement production line and CO2 sealing method

(22) 10.07.2023(43) 29.02.2024(57) The present invention relates to the field of cement production industrial technology, and specifically relates to a carbon capture auxiliary system for a cement...

more
×