Cement kiln fuel treatment
(22) 29.01.2016
(43) 04.08.2016
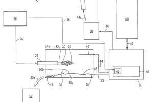
(57) A method of treating cement kiln fuel includes introducing an additive to a fuel component to form a fuel mixture. The fuel component includes a sulfur-generating combustible fuel and the additive includes a micronized lime component. The method further includes combusting the fuel component within a cement kiln. The sulfur generated by the combustion of the combustible fuel forms calcium-containing sulfur compounds with lime provided by the micronized lime component. The calcium-containing sulfur compounds fall to a bed of clinker forming beneath the flame and some portion thereof may become resident in the clinker.
(71) SCB International Materials, Inc., Newtown, CT (US)
(73) SCB International Materials, Inc., Newtown, CT (US)
