Cement dust removal system
(22) 17.06.2015
(43) 22.12.2016
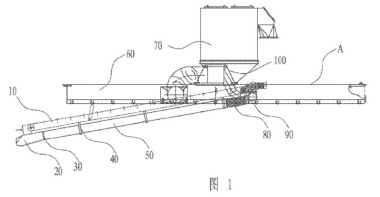
(57) A cement dust removal system comprises a cement pit, a ventilation duct, an air collection hood, a cyclone dust remover inlet, a cyclone dust remover, a cyclone dust remover outlet, an ash bucket, a fan, and a chimney. The cement pit is disposed on one side of the cyclone dust remover, and is communicated with the air collection hood by means of the ventilation duct. The air collection hood is disposed at the outlet of the cement pit, and one end of the air collection hood is communicated with the inlet of the cyclone dust remover by means of the ventilation duct. Two sides of the cyclone dust remover are provided with the cyclone dust remover inlet and the cyclone dust remover outlet. The ash bucket is disposed on one end of the cyclone dust remover. The fan is disposed between the cyclone dust remover and the chimney, and is connected to the chimney by means of the ventilation duct.
(71) Xu, Liangfang, Guangdong 518023 (CN)
(84) ARIPO (BW, GH, GM, KE, LR, LS, MW, MZ, NA, RW, SD, SL, ST, SZ, TZ, UG, ZM, ZW), Eurasian (AM, AZ, BY, KG, KZ, RU, TJ, TM), European (AL, AT, BE, BG, CH, CY, CZ, DE, DK, EE, ES, FI, FR, GB, GR, HR, HU, IE, IS, IT, LT, LU, LV, MC, MK, MT, NL, NO, PL, PT, RO, RS, SE, SI, SK, SM, TR), OAPI (BF, BJ, CF, CG, CI, CM, GA, GN, GQ, GW, KM, ML, MR, NE, SN, TD, TG)
