Apparatus for carbonation of a cement mix
(22) 10.07.2015
(43) 07.01.2016
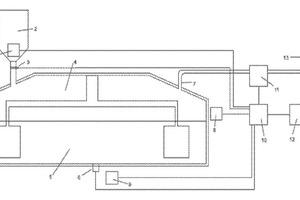
(57) The invention provides compositions and methods directed to carbonation of a cement mix during mixing. The carbonation may be controlled by one or more feedback mechanisms to adjust carbon dioxide delivery based on one or more characteristics of the mix or other aspects of the mixing operation.
(71) CarbonCure Technologies, Inc., Dartmouth (CA)
