Process and plant for producing cement clinker
(22) 04.10.2022
(43) 13.04.2023
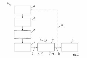
(57) The invention relates to a method and plant for producing cement clinker, comprising the steps of: burning raw materials to form cement clinker in a furnace (2), preheating the raw materials with flue gases of the furnace (2), and dehumidifying and cooling flue gases of the furnace (2) by means of a condensation heat exchanger (6).
(71) Scheuch Management Holding GmbH, Weierfing 68, 4971 Aurolzmünster (AT)
