Lime-based cement extender compositions, and associated systems and methods
(22) 29.05.2024
(43) 13.02.2025
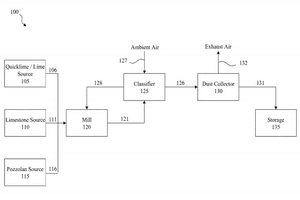
(57) A composition configured to be mixed with cement, and associated systems and methods are disclosed herein. In some embodiments, the composition includes at least 10% by weight lime particles, and at least 35% by weight pozzolan particles. Properties of the composition can include a magnesium oxide concentration of at least 0.5%, and an iron oxide concentration of at least 0.5-2.0%, an aluminum oxide concentration of 2-8%, a silicon dioxide concentration of 20-40%, a potassium oxide concentration of 20000-30000 ppm, and a sodium oxide concentration of 10000-20000 ppm. In some embodiments, the lime-based cement extender composition, or product, is combined with cement to produce a cement blend for use in the mining industry as mine backfill.
(71) Graymont Western Canada Inc., Richmond (CA)
