IDC Indirect Calciner
(22) 17.06.2024
(43) 26.12.2024
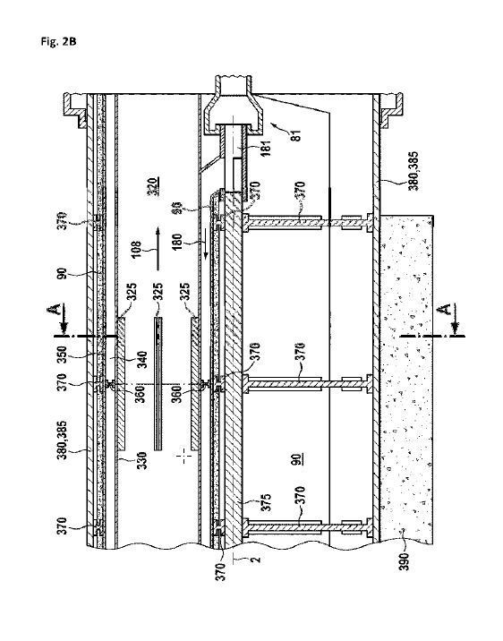
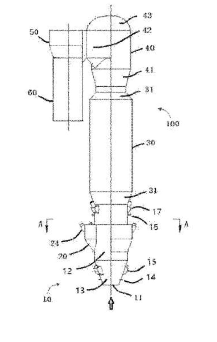
(57) A calciner 100 for a cement clinker manufacturing line, comprising a duct 110 with a raw meal inlet 111 and a raw meal outlet 112 being in fluid communication via a duct volume 113 and further comprising a conduit 120 with a heat carrier fluid inlet 121 and a heat carrier fluid outlet 122 being in fluid communication via a conduit volume 123, is very cost efficient and stable if it further comprises a wall 140 made of a wall material having a duct facing surface 141 at a duct facing side and a first conduit facing surface 142 at a conduit facing side, wherein the duct facing surface 141 and the conduit facing surface 142 are separated by the wall material and wherein the duct volume 113 is delimited by the duct facing surface 141 and the conduit volume 123 is delimited by the conduit facing surface 142 of said first wall 140.
(71) Alite GmbH; 31535 Neustadt (DE)
(84) ARIPO (BW, CV, GH, GM, KE, LR, LS, MW, MZ, NA, RW, SC. SD, SL, ST, SZ, TZ, UG. ZM, ZW), Eurasian (AM, AZ, BY, KG, KZ, RU, TJ, TM), European (AL, AT, BE, BG, CH, CY, CZ, DE. DK, EE, ES, FI. FR, GB, GR, HR, HU, IE, IS, IT, LT, LU. LV, MC, ME, MK, MT, NL, NO, PL, PT, RO, RS, SE, SI, SK, SM, TR), OAPI (BF, BJ, CF, CG, CI, CM, GA, GN, GQ, GW, KM, ML, MR, NE, SN, TD, TG).
