CO2 separation and recovery method and CO2 separation and recovery device in cement production exhaust gas
(22) 28.05.2021
(43) 27.07.2023
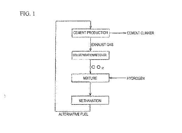
(57) A CO, separation/recover method in cement production exhaust gas has a step of harmful component removal that removes an acidic component and a harmful component from exhaust gas discharged from a cement production facility; and a step of CO, separation and recover that separates and recovers CO, by bringing the exhaust gas from which the acidic component and the harmful component are removed into contact with a CO, absorption material, so that the acidic component and the harmful component are removed before separating and recovering CO2, resulting in deterioration of the absorbing ability of the CO, absorption material being suppressed; and the cement production exhaust gas can be appropriately disposed. (71) Mitsubishi Materials Corporation, Tokyo (JP)
(73) Mitsubishi Materials Corporation, Tokyo (JP)
