Unit for producing pozzolanic cement of low environmental impact, obtained from mixed construction and demolition waste (CDW), process and resulting products for civil enigineering
(22) 02.12.2014
(43) 11.06.2015
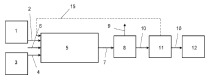
(57) Unit for producing pozzolanic cement of low environmental impact, obtained from mixed construction and demolition waste (CDW), and resulting products for civil engineering, which combines the operations of measuring, mixing graded broken pebbles of CDW and urban soil, grinding, calcining and adding lime to form the product, constituted by pozzolanic cement (< 150 μm) mixed with broken pebbles of CDW with a particle size below 50 mm, yielding final products with a strength below 25 MPa. The application includes the stationary or mobile recycling plant that combines the separate breaking of the different CDWs (grey, red and mixed), storage of the graded stone pebbles (< 50 mm) obtained together with urban soil waste and waste hydrated lime, it being possible for same to be supplied separately or together. The mixed CDW fines may be simply measured out or thermally activated, it being necessary, in this case, to separate them out, in the dry state, by pneumatic grading.
(71) Instituto de Pesquisas Tecnológicas de Estado de Sao Paulo, Av. Prof. Almeida Prado, 532, 05508-901 Sao Paulo (BR)
(84) ARIPO (BW GH GM KE LR LS MW MZ NA RW SD SL SZ TZ UG ZM ZW), Eurasian (AM AZ BY KG KZ RU TJ TM), European (AL AT BE BG CH CY CZ DE DK EE ES FI FR GB GR HR HU IE IS IT LT LU LV MC MK MT NL NO PL PT RO RS SE SI SK SM TR), OAPI (BF BJ CF CG CI CM GA GN GQ GW KM ML MR NE SN TD TG)
