Slurry mixer gate having enhanced extractor ports
(22) 04.09.2015
(43) 09.03.2017
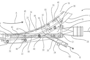
(57) A discharge gate is provided for delivering a mixed slurry from a gypsum slurry mixer, and includes a first extractor port configured for generating a first density slurry for a first gypsum layer, and a second extractor port configured for generating a second density slurry for a second gypsum layer. A channel is defined by a front panel and a side panel of the discharge gate for delivering the first and second density slurries from the slurry mixer. The first extractor port extends semi-tangentially from the front panel of the discharge gate, and is connected in fluid communication with the front panel via the channel and a first slurry passageway disposed within the first extractor port for delivering the first density slurry.
(71) United States Gypsum Company, Chicago, IL (US)
